Curiosii for ever!: Car repair manuals for everyone.

Brake Switch (Cruise Control): Adjustments




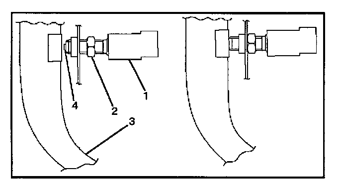
1. Check that the brake pedal (3) is fully returned by pedal return spring.
2. Disconnect the switch connector.
3. Loosen the lock nut (2).
4. Rotate the brake switch (1) by hand until push rod disappears from brake switch tip (4).
5. Return the brake switch by a half turn.
6. Tighten the lock nut.
7. Connect the switch connector.