Curiosii for ever!: Car repair manuals for everyone.

Procedures






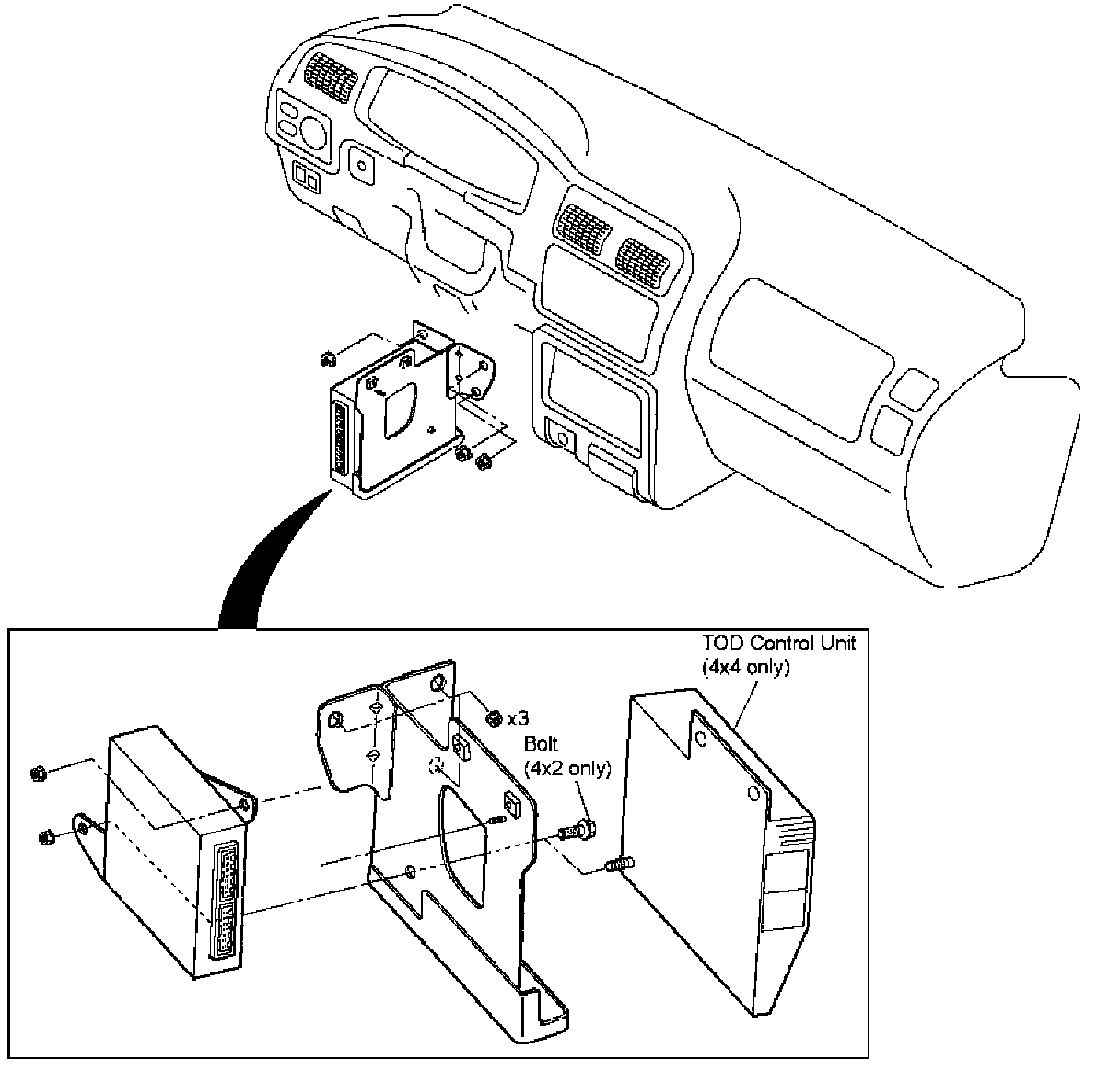
Transmission Control Module (TCM)
Removal

Preparation:
Disconnect negative (-) battery cable.
1. Disconnect the TCM harness connectors.
2. Disconnect the TOD harness connectors. (With TOD only)
3. Remove fixing nuts (2 pieces) and TCM from the vehicle.

NOTE: The TCM is fitted under instrument panel of the driver's compartment by means of two stud bolts.

Installation
To install, follow the removal steps in reverse order.