Curiosii for ever!: Car repair manuals for everyone.

Fuel System

Fuel System Description

Fuel System Overview
The fuel tank stores the fuel supply. The electric fuel pump supplies fuel through an in-line fuel filter to the fuel injection system. The fuel pump provides fuel at a higher rate of flow than is needed by the fuel injection system. The fuel pressure regulator maintains the correct fuel pressure to the fuel injection system. A separate pipe returns unused fuel to the fuel tank.

Fuel Tank
The fuel tank stores the fuel supply. The fuel tank is located on the left side of the vehicle. The fuel tank is held in place by 2 metal straps that attach to the frame. The fuel tank is molded from high density polyethylene.

Fuel Fill Pipe
The fuel fill pipe has a built-in restrictor in order to prevent refueling with leaded fuel.







Fuel Filler Cap
The fuel fill pipe has a tethered fuel filler cap. A torque-limiting device prevents the cap from being over tightened. To install the cap, turn the cap clockwise until you hear clicks. This indicates that the cap is correctly torqued and fully seated. A built-in device indicates that the fuel filler cap is fully seated. A fuel filler cap that is not fully seated may cause a malfunction in the emission system.







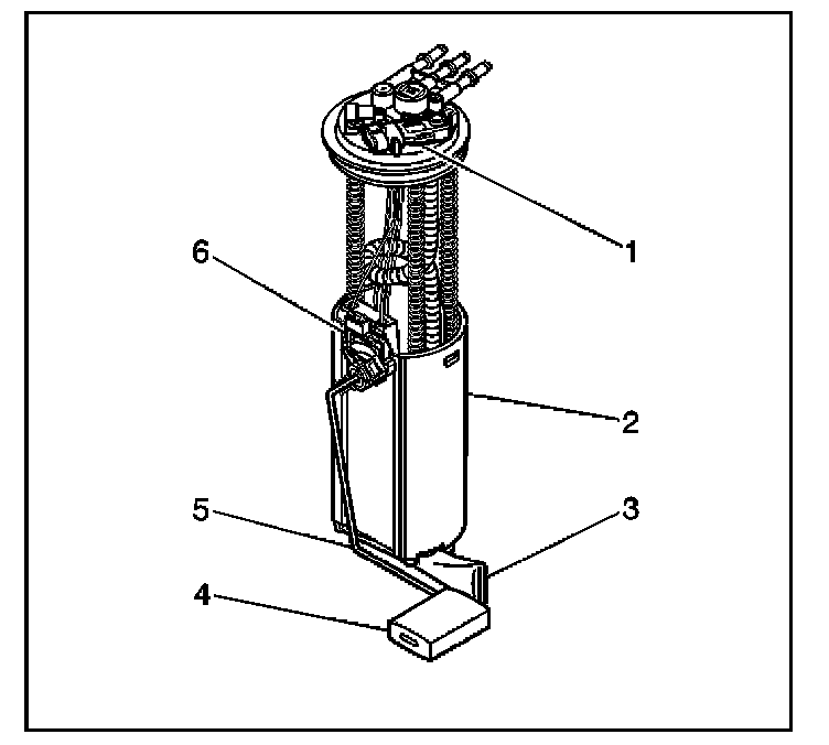
Fuel Sender Assembly
The fuel sender assembly consists of the following major components:
- The fuel level sensor (6)
- The fuel tank pressure (FTP) sensor (1)
- The fuel tank fuel pump module (2)
- The fuel strainer (3)







Fuel Level Sensor
The fuel level sensor consists of a float, a wire float arm, and a ceramic resistor cord. The position of the float arm indicates the fuel level. The fuel level sensor contains a variable resistor, which changes resistance in correspondence to the amount of fuel in the fuel tank. The powertrain control module (PCM) sends the fuel level information via the class 2 circuit to the instrument panel (I/P) cluster. This information is used for the I/P fuel gauge and the low fuel warning indicator, if applicable. The PCM also monitors the fuel level input for various diagnostics.

Fuel Pump
The fuel pump is mounted in the fuel sender assembly reservoir. The fuel pump is an electric high pressure pump. Fuel is pumped to the fuel rail at a specified flow and pressure. Excess fuel from the fuel rail assembly returns to the fuel tank through the fuel return pipe. The fuel pump delivers a constant flow of fuel to the engine during low fuel conditions and aggressive vehicle maneuvers. The powertrain control module (PCM) controls the electric fuel pump operation through a fuel pump relay. The fuel pump flex pipe acts to dampen the fuel pulses and noise generated by the fuel pump.

Fuel Strainer
The fuel strainer attaches to the lower end of the fuel sender. The fuel strainer is made of woven plastic. The functions of the fuel strainer are to filter contaminants and to wick fuel. Fuel stoppage at this point indicates that the fuel tank contains an abnormal amount of sediment.







In-Line Fuel Filter
The fuel filter is located in the fuel feed pipe, between the fuel pump and the fuel injectors. The paper filter element (2) traps particles that may damage the fuel injection system. The filter housing (1) is made to withstand maximum fuel system pressure, exposure to fuel additives, and changes in temperature.

Fuel Feed and Return Pipes
The fuel feed pipe carries fuel from the fuel tank to the fuel rail assembly. The fuel return pipe carries fuel from the fuel rail assembly back to the fuel tank. The fuel pipes consist of 2 sections:
- The rear fuel pipe assemblies are located between the top of the fuel tank and the chassis fuel pipes. The rear fuel pipes are constructed of nylon.
- The chassis fuel pipes are located under the vehicle and connect the rear fuel pipes to the fuel rail. These pipes are constructed of steel with sections of rubber hose covered with braiding.

Nylon Fuel Pipes

Caution: In order to reduce the risk of fire and personal injury observe the following items:
* Replace all nylon fuel pipes that are nicked, scratched or damaged during installation, do not attempt to repair the sections of the nylon fuel pipes
* Do not hammer directly on the fuel harness body clips when installing new fuel pipes. Damage to the nylon pipes may result in a fuel leak.
* Always cover nylon vapor pipes with a wet towel before using a torch near them. Also, never expose the vehicle to temperatures higher than 115 °C (239 °F) for more than one hour, or more than 90 °C (194 °F) for any extended period.
* Apply a few drops of clean engine oil to the male pipe ends before connecting fuel pipe fittings. This will ensure proper reconnection and prevent a possible fuel leak. (During normal operation, the O-rings located in the female connector will swell and may prevent proper reconnection if not lubricated.)

Nylon pipes are constructed to withstand maximum fuel system pressure, exposure to fuel additives, and changes in temperature. There are 3 sizes of nylon pipes used: 9.5 mm (3/8 in.) ID for the fuel supply, 7.6 mm (5/16 in.) ID for the fuel return, and 12.7 mm (1/2 in.) ID for the vent. Heat resistant rubber hose or corrugated plastic conduit protects the sections of the pipes that are exposed to chafing, to high temperatures, or to vibration.

Nylon fuel pipes are somewhat flexible and can be formed around gradual turns under the vehicle. However, if nylon fuel pipes are forced into sharp bends, the pipes kink and restrict the fuel flow. Also, once exposed to fuel, nylon pipes may become stiffer and are more likely to kink if bent too far. Take special care when working on a vehicle with nylon fuel pipes.

Quick-Connect Fittings
Quick-connect fittings provide a simplified means of installing and connecting fuel system components. The fittings consist of a unique female connector and a compatible male pipe end. O-rings, located inside the female connector, provide the fuel seal. Integral locking tabs inside the female connector hold the fittings together.

Fuel Pipe O-Rings
O-rings seal the threaded connections in the fuel system. Fuel system O-ring seals are made of special material. Service the O-ring seals with the correct service part.







Fuel Rail Assembly
The fuel rail assembly attaches to the engine intake manifold. The fuel rail assembly performs the following functions:
- Positions the injectors (3) in the intake manifold
- Distributes fuel evenly to the injectors
- Integrates the fuel pressure regulator (2) with the fuel metering system







Fuel Pressure Regulator Assembly
The fuel pressure regulator is a vacuum-operated diaphragm relief valve with fuel pump pressure on one side, and with regulator spring pressure and intake manifold vacuum on the other side. The fuel pressure regulator maintains a constant pressure differential across the fuel injectors at all times. The fuel pressure regulator compensates for engine load by increasing the fuel pressure when the engine vacuum drops.

Fuel Metering Modes of Operation
The powertrain control module (PCM) uses inputs from several sensors in order to determine how much fuel to supply to the engine. The fuel is delivered during one of several engine operating conditions called modes. The PCM controls all modes.

The Starting Mode
With the ignition switch in the ON position, before engaging the starter, the PCM energizes the fuel pump relay for 2 seconds allowing the fuel pump to build pressure. Speed density is determined by inputs from the engine RPM, the intake air temperature (IAT) and the manifold absolute pressure (MAP). The PCM first tests speed density, then switches to the mass air flow (MAF) sensor. The PCM also uses the engine coolant temperature (ECT), the throttle position (TP), and the manifold absolute pressure (MAP) sensors to determine the proper air/fuel ratio for starting. The PCM controls the amount of fuel delivered in the starting mode by changing the width of the fuel injector pulse.

The Clear Flood Mode
If the engine floods, clear the engine by pushing the accelerator pedal down to the floor and then crank the engine. When the throttle position (TP) sensor is at wide open throttle (WOT) , the PCM reduces the injector pulse width in order to increase the air-to-fuel ratio. The PCM maintains this injector rate as long as the throttle stays wide open and the engine speed is below a predetermined RPM. If the throttle is not held wide open, the PCM returns to the starting mode.

The Run Mode
The run mode has 2 conditions. These conditions are called Open Loop and Closed Loop. When the engine is first started and the engine speed is above a predetermined RPM, the system begins Open Loop operation. The PCM ignores the signal from the heated oxygen sensor (HO2S) and calculates the air/fuel ratio based on inputs from the ECT, the MAF, the MAP, and the TP sensors. The system stays in Open Loop until the following conditions are met:

- Both HO2Ss have varying voltage output, showing that they are hot enough to operate properly. This depends upon the engine temperature.
- The ECT sensor is above a specified temperature.
- A specific amount of time has elapsed after starting the engine.

Specific values for the above conditions exist for each different engine. These values are stored in the electrically erasable programmable read-only memory (EEPROM). The system begins Closed Loop operation after reaching these values. In Closed Loop, the PCM calculates the air/fuel ratio, fuel injector ON time, based upon the signal from various sensors, but mainly from the HO2S. This allows the air/fuel ratio to stay very close to 14.7:1.

Acceleration Mode
When the driver pushes on the accelerator pedal, the air flow into the cylinders increases rapidly, while fuel flow tends to lag behind. In order to prevent possible hesitation, the PCM increases the pulse width to the fuel injectors in order to provide extra fuel during acceleration. The PCM determines the amount of fuel required based upon the throttle position, the coolant temperature, the MAP, the MAF, and the engine speed.

Deceleration Mode
When the driver releases the accelerator pedal, the air flow into the engine is reduced. The PCM reads the corresponding changes in the TP, the MAP, and the MAF. The PCM shuts OFF fuel completely if the deceleration is very rapid, or for long periods, such as during a long, closed-throttle coast-down. The fuel shuts OFF in order to protect the three-way catalyst (TWC).

Battery Voltage Correction Mode
When the battery voltage is low, the PCM compensates for the weak spark delivered by the ignition system in the following ways:
- Increasing the amount of fuel delivered
- Increasing the idle RPM
- Increasing the ignition dwell time

Fuel Cut-off Mode
The PCM cuts OFF fuel from the fuel injectors when the following conditions are met in order to protect the powertrain from damage and improve driveability:
- The ignition is OFF. This prevents engine run-on.
- The ignition is ON but there is no ignition reference signal. This prevents flooding or backfiring.
- The engine speed is too high, above red line.
- The vehicle speed is too high, above the rated tire speed.
- During an extended, high speed, closed-throttle coast-down-This reduces the emissions and increases the engine braking.
- During extended deceleration, in order to protect the catalytic converters

Fuel Trim
The powertrain control module (PCM) controls the air/fuel metering system in order to provide the best possible combination of driveability, fuel economy, and emission control. The PCM monitors the HO2S signal voltage while in Closed Loop and regulates the fuel delivery by adjusting the pulse width of the fuel injectors based on this signal. The ideal fuel trim values are around 0 percent for both short term and long term fuel trim. A positive fuel trim value indicates the PCM is adding fuel in order to compensate for a lean condition by increasing the pulse width. A negative fuel trim value indicates that the PCM is reducing the amount of fuel in order to compensate for a rich condition by decreasing the pulse width. A change made to the fuel delivery changes the short term and long term fuel trim values. The short term fuel trim values change rapidly in response to the HO2S signal voltage. These changes fine tune the engine fueling. The long term fuel trim makes coarse adjustments to fueling in order to re-center and restore control to short term fuel trim. A scan tool can be used to monitor the short term and long term fuel trim values. The long term fuel trim diagnostic is based on an average of several of the long term speed load learn cells. The PCM selects the cells based on the engine speed and engine load. If the PCM detects an excessive lean or rich condition, the PCM will set a fuel trim diagnostic trouble code (DTC).