Curiosii for ever!: Car repair manuals for everyone.

General Thread Repair

Thread Repair

Tools Required
^ J 42385-100 Head/Main Bolt Thread Repair Kit
^ J 42385-200 General Threads Kit
^ J 42385-300 Fixtures/Hardware Kit

General Thread Repair





The thread repair process involves a solid, thin walled, self-locking, carbon steel, bushing type insert (1). During the bushing installation process, the driver tool expands the bottom external threads of the insert into the base material (2). This action mechanically locks the insert in place. Also, when installed to the proper depth, the flange of the insert will be seated against the counterbore of the repaired hole.

Caution: Refer to Safety Glasses Caution in Service Precautions.

Important: The use of a cuffing type fluid, WD 40, or equivalent is recommended when performing the drilling, counterboring, and tapping procedures.
Driver oil MUST be used on the installer driver tool.
The tool kits are designed for use with either a suitable tap wrench or drill motor.





1. Drill out the threads of the damaged hole (1).
^ M6 Inserts require a minimum drill depth of 15 mm (0.59 inch).
^ M8 Inserts require a minimum drill depth of 20 mm (0.79 inch).
^ M10 Inserts require a minimum drill depth of 23.5 mm (0.93 inch).
2. Using compressed air, clean out any chips.





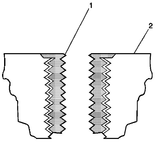
3. Counterbore the hole to the full depth permitted by the tool (1).
4. Using compressed air, clean out any chips.





5. Using a tap wrench (2), tap the threads of the drilled hole.
^ M6 Inserts require a minimum tap depth of 15 mm (0.59 inch).
^ M8 Inserts require a minimum tap depth of 20 mm (0.79 inch).
^ M10 Inserts require a minimum tap depth of 23.5 mm (0.93 inch).
6. Using compressed air, clean out any chips.
7. Spray cleaner into the hole.
8. Using compressed air, clean any cutting oil and chips out of the hole.

Important: Do not allow oil or other foreign material to contact the outside diameter (OD) of the insert.





9. Lubricate the threads of the installer tool (2) with the driver oil (1).





10. Install the insert (2) onto the driver tool (1).





11. Apply threadlock J 42385-109 (1), or equivalent to the insert OD threads (2).





12. Install the insert (2) into the hole.
Install the insert until the flange of the insert contacts the counterbored surface. Continue to rotate the installer tool (1) through the insert.
The installer tool will tighten up before screwing completely through the insert. This is acceptable. You are forming the bottom threads of the insert and mechanically locking the insert to the base material threads.





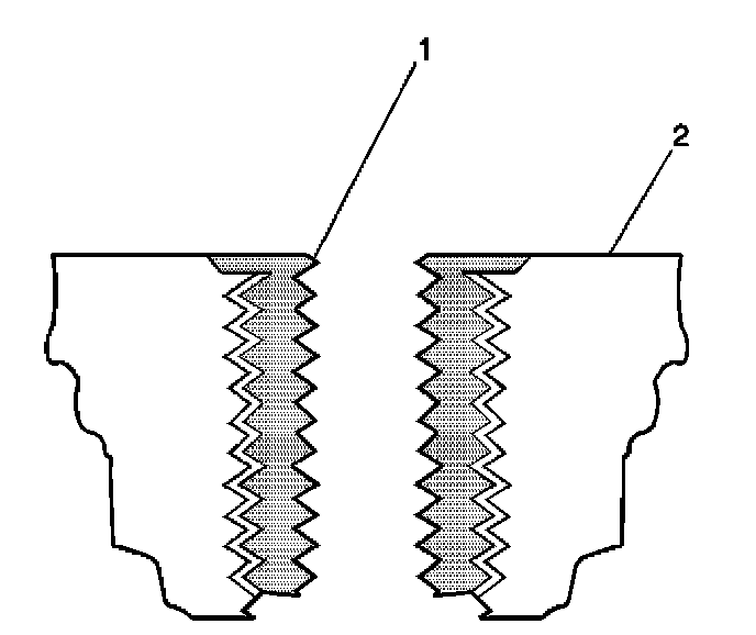
13. Inspect the insert for proper installation in to the hole.
A properly installed insert (1) will be either flush or slightly below flush with the surface of the base material (2).