Engine Fuel System
Engine Fuel System
When working on the fuel system, there are several things to keep in mind:
- Any time the fuel system is being worked on, disconnect the negative battery cable except for those tests where battery voltage is required.
- Always keep a dry chemical (Class B) fire extinguisher near the work area.
- Replace all pipes with the same pipe and fittings that were removed.
- Clean and inspect "O" rings. Replace if required.
- Always relieve the line pressure before servicing any fuel system components.
- Do not attempt repairs on the fuel system until you have read the instructions and checked the pictures relating to that repair.
- Adhere to all Notices and Cautions.
All gasoline engines are designed to use only unleaded gasoline. Unleaded gasoline must be used for proper emission control system operation.
Its use will also minimize spark plug fouling and extend engine oil life. Using leaded gasoline can damage the emission control system and could result in loss of emission warranty coverage.
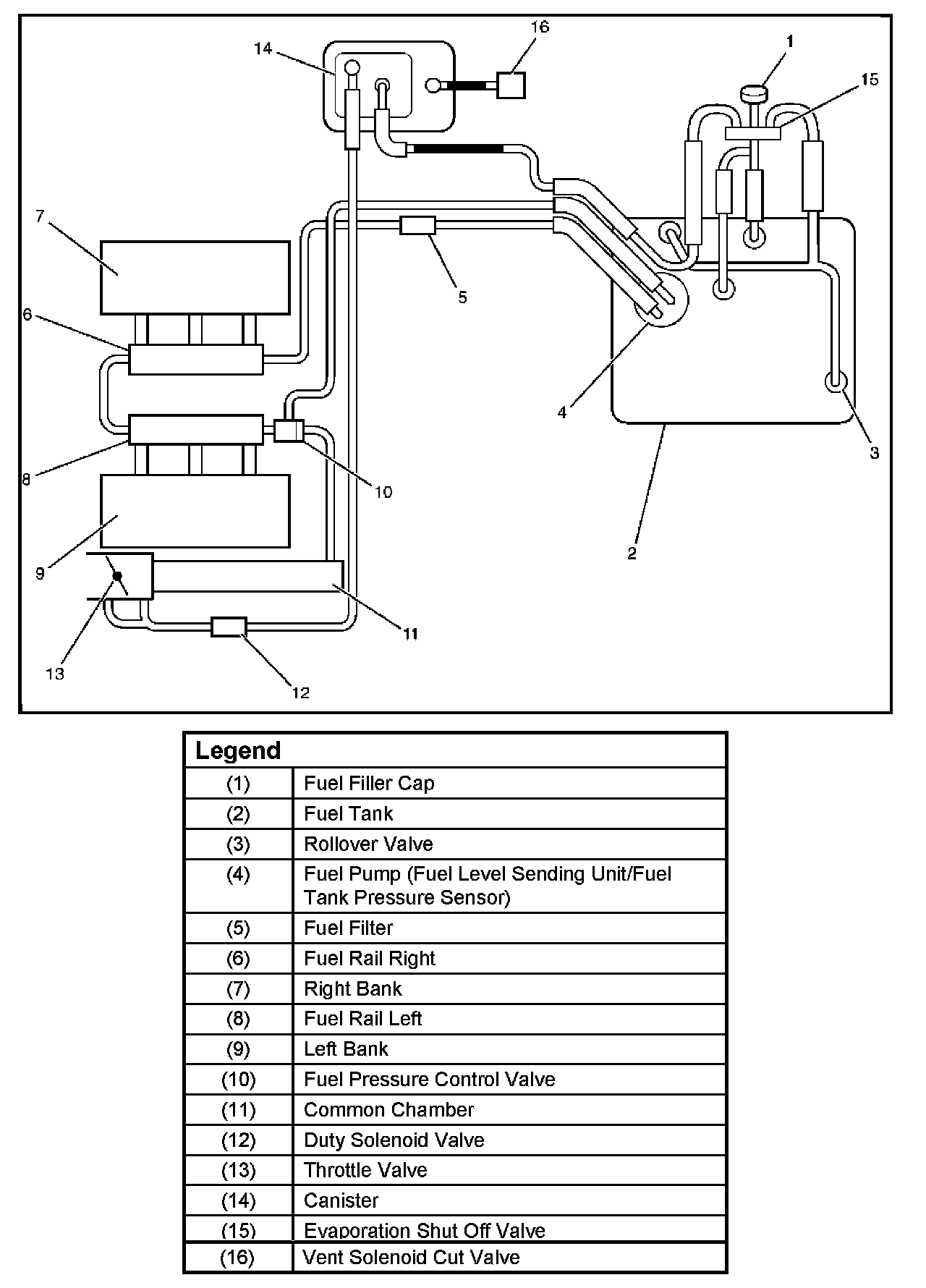
All cars are equipped with an Evaporative Emission Control System. The purpose of the system is to minimize the escape of fuel vapors to the atmosphere.