Transfer Case Assembly
Transfer Case AssemblyDisassembly
1. Using snap ring pliers, open the snap ring from the gap on the carrier assembly.
While opening the snap ring, remove the input shaft assembly, carrier assembly and thrust plate together from the transfer case.
2. Remove the snap ring from the transfer case.
3. Using snap ring pliers, remove the snap ring.
4. Using the bearing remover J-22912-01, remove the ball bearing from the input shaft.
5. Remove the circular hub.
6. Remove the snap ring from the carrier assembly.
7. Remove the thrust plate from the carrier assembly.
8. Remove the snap ring before the ring gear.
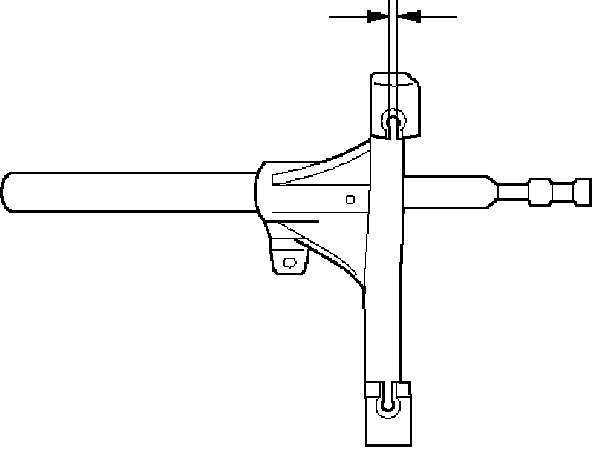
9. Using the ring gear remover J-42806 and a bench press, remove the ring gear from the transfer case.
Note: Removing ring gear needs a high-load press. This means the transfer case may be damaged. To remove and replace the ring gear, it is recommended that the transfer case assembly should be replaced.
10. Remove the ball bearing of the front output shaft from the transfer case.
Reassembly
Oil Seal Replacement
1. Remove the oil seal of the front output shaft and input shaft from the transfer case.
2. Apply the circumference of the new oil seal and fill the lip with grease (BESCO L2 or its equivalent).
3. Using the oil seal installer J-42807, install the front output shaft oil seal to the transfer case.
4. Using the oil seal installer J-42808, install the input shaft oil seal to the transfer case.
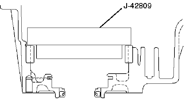
5. Using the ring gear installer J-42809 and a bench press, install the ring gear to the transfer case.
Note: Pay attention to the following points.
- Identify the correct direction gear.
- Do not damage the gear.
- Do not press-fit the ring gear slantingly.
- Press-fit the ring gear to the innermost
- Remove burrs generated by press-fitting.
- If the transfer case has serrations, match them with those of the gear and press-fit the gear.
6. Install the snap ring.
7. Install the thrust plate to the carrier assembly.
Attach the snap ring to the carrier assembly.
8. Install the carrier assembly to the input shaft.
9. With care the direction of circular hub, mount it to the input shaft.
10. Press the ball bearing to the input shaft so that the snap ring will be attached to the input shaft.
11. Install the snap ring to the input shaft.
12. Install the ball bearing of the front output shaft to the transfer case.
13. Install the snap ring of the input shaft bearing to the transfer case.
14. Using snap ring pliers, open the snap ring from the gap on the carrier assembly.
While opening the snap ring, securely attach the input shaft and carrier assembly to the transfer case.
Inspection and Repair (Transfer Case Assembly)
When wear, damage, or any other defects are observed during the inspection, the part or parts must be repaired or replaced. Wash all the parts with clean detergent, and check that old oil, metallic particles, dirt, or foreign materials are completely removed. Blow the air into oil holes and grooves to remove foreign materials or residual detergent.
Chain
- Check whether the face that contacts the sprocket is free from excessive wear or damage. If defects are observed, replace the part.
- If the chain interference mark is found on the inside wall of the transfer cover or the chain is so slack that a skipped engagement occurs between the chain and sprocket, replace the chain.
Sprocket
- Check whether the sprocket tooth surface is excessively worn or damaged, and there is evidence of burrs, chipping, wear, or damage on the gear spline. Remove minor flaws or scratches with oil stone. If excessive wear or damage is observed, replace the part.
- If excessive wear or damage is observed on the sprocket inside sliding surface, replace the part.
Gear
- Check whether the gear tooth surface is excessively worn or damaged, and there is evidence of burrs, chipping, wear, or damage on the gear spline.
Remove minor flaws or scratches with oil stone. If excessive wear or damage is observed, replace the part.
Thickness of Reduction Hub
- Measure the thickness with a micrometer.
- If the measurement exceeds the limit, replace the reduction hub.
Standard: 3.05 - 3.30 mm (0.120 - 0.130 inch)
Allowable limit: 2.5 mm (0.098 inch)
Lockup Collar Assembly
- Install the lockup hub, drive sprocket assembly, and lockup collar assembly to the output shaft.
- If the lockup collar assembly does not move smoothly, replace the lockup collar assembly.
Note: Apply ATF to the rear engaging the gear.
Width of Lockup Collar
- Using calipers, measure the lockup collar groove for width of wear.
- If the measurement exceeds the limit, replace the lockup collar assembly.
Standard: 7.16 - 7.32 mm (0.282 - 0.288 inch)
Allowable limit: 7.9 mm (0.311 inch)
Shift Fork and Rail Assembly
Check the shift fork and rail for wear, distortion, and scratches. If defects are observed, replace the parts.
Thickness of Shift Fork
- If the measurement exceeds the limit, replace the shift fork.
Standard: 3.41 - 3.79 mm (0.134 - 0.149 inch)
Allowable limit: 4.4 mm (0.173 inch)
Lockup Fork and Rail
- Check the lockup fork and rail for wear, distortion, and scratches. If defects are observed, replace the parts.
Thickness Lockup Fork
If the measurement exceeds the limit, replace the lockup fork.
Standard: 6.99 - 7.09 mm (0.275 - 0.279 inch)
Allowable limit: 6.3 mm (0.248 inch)
Bearing
Check the profile of the needle, roller, ball, and thrust bearings. Wash the bearings with clean detergent completely, and dry with air.
Note: If the bearing is rotated excessively, the rollers may be damaged. So, rotate the bearing slowly with your hand. Apply grease to the bearing, and check the smoothness of the bearing while slowly rotating the race with your hand.
Allowable limit: 0.23 mm (0.009 inch)
Lockup Fork Spring
Check the lockup fork spring for distortion, cracking, and wear. If defects are observed, replace the part.
Multi Plate Disk Clutch
- If the burned, mirror-surfaced clutch facing, or scraping is observed on the clutch plates, clutch housing, armature plate, and insulator washer, replace the parts.
Coil Assembly
- Check the resistance of the coil with a tester. If defects are observed, replace the coil assembly.
Standard: 1.7 ± 0.3 Ohms (at ordinary temperature)
Allowable limit: 1.0 - 5.0 Ohms
Cam Pulley, Cam Ball, and Cam & Coil Housing
- Check the cam balls and cam for excessive wear or damage. If defective, replace the parts.
4H and 4L Switch
- Check the continuity of 4H and 4L switch.
If defects are observed, replace the 4H and 4L switch.
Shift Motor Assembly
- Check the resistance of the shift motor assembly (between terminal 4 to 7) with a tester.
If defects are observed, replace the shift motor assembly.
Standard: 0.63 ± 0.2 Ohms (at ordinary temperature)
Oil Pump
- Remove foreign materials from the strainer. If the strainer is damaged, replace it.
- If the area into which the shaft is inserted is excessively worn or damaged, replace the oil pump assembly.