Curiosii for ever!: Car repair manuals for everyone.

Air Induction System





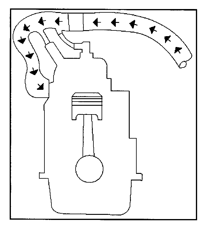
The air induction system filters contaminants from the outside air, and directs the progress of the air as it is drawn into the engine. A remote-mounted air cleaner prevents dirt and debris in the air from entering the engine. The air duct assembly routes filtered air to the throttle body. Air enters the engine by the following steps:
- Through the throttle body.
- Into the intake manifold.
- Through the cylinder head intake ports.
- Into the cylinders.