Curiosii for ever!: Car repair manuals for everyone.

Differential Assembly






INSPECTING THE AXLE BEFORE DISASSEMBLY
1. Remove the axle cover from the rear axle and drain the axle lubricant into a suitable container.
2. Check ring gear backlash. This information can be used to determine the cause of the axle problem. It will also help when setting up the shim packs for locating and preloading the differential cage.
3. Check case for metal chips and shavings. Determine where these chips and shavings come from, such as a broken gear or bearing cage.
- If possible, determine the cause of the axle problem before disassembly.

DISASSEMBLY
1. Remove axle shafts.
2. Remove ABS sensor.





3. Remove bearing caps and bolts.
- Mark the caps and the housing as left and right.

Caution: Bearing caps are machined with the housing and must be assembled in the same position as removed. Note the matched letter stamped on the caps and carrier. When assembled, the letters on the caps must agree in both the horizontal and vertical position with the letters on the carrier.





4. Remove Differential case.
- Pry the case from the axle housing at the differential "window".
5. Remove side bearing outer races and shims.
- Mark the races and shims as left and right, and place them with the bearing cups.





6. Remove differential side bearings using remover J-42379 and plug J-39830.
- Select insert; 303174 and collet halves; 44801 in remover kit J-42379.
7. Remove ring gear bolts.
- Ring gear bolts use right-handed threads.

Caution: DO not pry the ring gear from the case. This will damage the ring and the differential case.

8. Remove ring gear from the differential.
- Drive the ring gear off with a brass drift if necessary.





- Check drive pinion bearing preload.
- Check the pinion assembly for looseness by moving it back and forth. (Looseness indicates excessive bearing wear.)
9. Remove pinion flange nut and washer.
- Use flange holder J-8614-01 to hold the pinion flange.





10. Remove pinion flange.
- Use flange holder J-8614-01 to remove the pinion flange.
11. Remove pinion from the axle housing.
- Thread the pinion nut halfway onto the pinion.
- Drive the pinion out of the housing with a hammer and a soft drift.
- Remove the nut and then remove the pinion.





12. Remove collapsible spacer (1).
13. Remove outer seal, outer oil slinger and outer pinion bearing.





14. Remove inner bearing, inner oil slinger and shim from the pinion.
- Press the bearing off the pinion using remover J-42379.
- Select insert; 303174 and collet halves; 44801 in remover kit J-42379.
- Remove the shim.
15. Remove bearing cups and baffle plate from the axle housing using a hammer and a punch.
- Work the cups out of the housing evenly, moving the punch back and forth between one side of the cup and the other.
- The baffle plate will be destroyed and should be replaced with a new one.





16. Remove exciter ring.
- Remove the exciter ring from the differential using a mallet or a brass hammer if it is required.

Note: Discard the exciter ring after removal

Cleaning
Do not steam clean drive parts which have ground and polished surfaces such as gears, bearings, and shafts. These parts should be cleaned in a suitable solvent. All parts should be disassembled before cleaning.
Parts should be thoroughly dried immediately after cleaning. Use soft, clean, lintless rags. Parts may be dried with compressed air. Do not allow the bearings to spin while drying them with compressed air.

INSPECTION AND REPAIR
It is very important to carefully and thoroughly inspect all drive unit parts before reassembly.
Thorough inspection of the drive parts for wear or stress and subsequent replacement of worn parts will eliminate costly drive component repair after reassembly.

Axle Housing
The carrier bore for nicks or burrs that would prevent the outer diameter of the pinion seal from sealing. Remove any burrs that are found.
The bearing cap bores for nicks or burrs.
Remove any burrs that are found.
The housing for cracks. Replace the housing if any cracks are found.
The housing for foreign material such as metal chips, dirt, or rust.

Pinion and Ring Gear
- Pinion and ring gear teeth for cracking, chipping, scoring, or excessive wear.
- Pinion splines for wear.
- Pinion flange splines for wear.
- The sealing surface of the pinion flange for nicks, burrs, or rough tool marks which would cause damage to the seal's inside diameter and result in an oil leak.
- Replace all worn or broken parts.
- Ring and pinion gears are matched sets and are both replaced anytime a replacement of either is necessary.

Bearings
- Bearings visually and by feel.
- The bearings should feel smooth when oiled and rotated while applying as much hand pressure as possible.
- The large end of the bearing rollers for wear.
- This is where tapered roller bearing wear is most evident.
- Bearing cups for wear, cracks, brinelling and scoring.
- Bearing and cups are only replaced as sets.
- If the rear axle was operated for an extended period of time with very loose bearings, the ring gear and drive pinion will also require replacement.
- Low mileage bearings may have minute scratches and pits on the rollers and the bearing cups from the initial pre-load. Do not replace a bearing for this reason.
- Bearing cups for cracks or chips.

Shims
- Shims for cracks and chips. Damaged shims should be replaced with an equally sized service shim.

REASSEMBLY








1. Install pinion bearing races and baffle plate using outer bearing race installer J-8611-01/inner bearing race installer J-42836 and drive handle J-8592.

Note: Baffle plate must be installed, when install the inner pinion bearing race.

2. Clean all the gauge parts.
3. Lubricate the outer and inner bearings with axle lubricant.
4. Place the bearings into the pinion bearing races.
5. Place the inner oil slinger onto the inner pinion bearing.

Note: The inner oil slinger must be placed between gauge plate and inner pinion bearing when measuring the pinion depth.





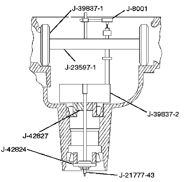
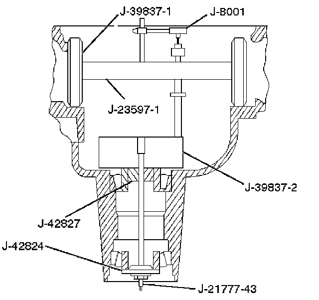
6. Install gauge plate J-39837-2, inner J-42827 stud and nut J-21777-43 and outer pilot J-42824 to the pinion bore.
7. Hold the stud stationary at the flats of the stud (and).
Tighten the stud nut
Torque: 2.2 Nm (1.6 ft. lbs.)
8. Rotate the gauge plate and bearings several complete revolutions to seat the bearings.
9. Tighten the stud nut until a torque of 1.6 to 2.2 Nm (1.2 to 1.6 ft. lbs.) is required to keep the gauge plate in rotation.





10. Assemble discs J-39837-1, arbor J-23597-1 and dial indicator J-8001 to the side bearing bores.

Note: The bearing bores must be clean and burr-free.

11. Install the side bearing caps and tighten the bolts to the specified torque.
Torque: 108 Nm (80 ft. lbs.)
12. Rotate the gauge plate until the gauging area is parallel with the discs.
13. Position the arbor assembly in the carrier so that the plunger is centered on the gauge area of the gauge plate.





14. Set the dial indicator to "0". Place it on the mounting post of the gauging arbor with the contact button touching the indicator pad.
Force the dial indicator downward until the needle has made a half turn clockwise. Tighten down the dial indicator in this position.





15. Position the plunger on the gauge plate. Move the gauging arbor slowly back and forth and locate the position at which the dial indicator shows the greatest defection. At this point, once again set the dial indicator to "0".
Repeat the procedure to verify the "0" setting.





16. After the ZERO setting is obtained, rotate the gauging arbor until the dial indicator rod does not touch the gauging plate.
Record the number the dial indicator needle points to.





17. Record the pinion depth code on the head of the drive pinion.
The number indicates a necessary change in the pinion mounting distance. A plus number indicates the need for a greater mounting distance (which can be achieved by decreasing the shim thickness). A minus number indicates the need for a smaller mounting distance (which can be achieved by increasing the shim thickness). If examination reveals pinion depth code "0", the pinion is "nominal".








18. Select the shim using the chart.
19. Remove bearing caps and depth gauging tools.





20. Install the correct pinion shim and inner oil slinger onto pinion.

Note: Do not install pinion gear into housing at this time.

21. If the exciter ring was removed, install the new exciter ring onto the differential case by pressing using the ring gear as a pilot.





22. Install ring gear (1) to the differential case (2)
23. Install new ring gear bolts.
- Tighten the ring gear bolts alternately in stages, gradually pulling the ring gear onto the differential case.





Tighten the ring gear bolts in sequence
Torque: 108 Nm (80 ft. lbs.)

Note: Discard used bolts and install new ones.

SIDE BEARING PRELOAD ADJUSTMENT
1. The side bearing preload adjustment must be made before installing the pinion.
2. The side bearing preload is adjusted by changing the thickness of both the left and right shims equally. This maintains the original backlash.





3. Install master side bearings J-39836 onto the case.
Remove all nicks, burrs, dirt etc., from the hubs to allow the master bearings to rotate freely.





4. Assemble the differential case into the housing (less pinion). Install bearing caps and finger tight bolts. Mount a dial indicator with a magnetic base to the housing and indicate on the flange or head of screw.
Force the differential assembly as far as possible in the direction towards the indicator.
With force still applied, set indicator at zero (0).

Note: Dial indicator set should be capable of a minimum travel of 5.08 mm (0.2 inch).

5. Force the differential assembly as far as it will go in the opposite direction. Repeat these steps until the same reading is obtained.
6. RECORD THE READING OF THE INDICATOR.
This amount, in shims, will be included in the final assembly shim stack to establish side bearing preload and ring gear and pinion backlash.
7. After making sure the readings are correct, remove the indicator and differential assembly from the housing.

PINION INSTALLATION
- The bearing cups should have been installed in Pinion Depth Adjustment.





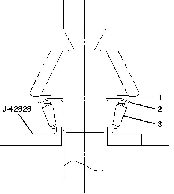
1. Place the shim (1) and inner oil slinger (2) on the pinion gear, then install the pinion inner bearing (3) using installer J-42828.
- Drive the bearing until the bearing cone seats on the pinion shims.
2. Install a new collapsible spacer.
- Lubricate the pinion bearings with axle lubricant.
3. Install pinion to the axle housing.
4. Install outer pinion bearing onto the pinion.
- Hold the pinion forward from inside the case while driving the bearing onto the pinion.
5. Install oil seal slinger.
6. Install pinion oil seal using installer J-37263.
7. Install the pinion flange to the pinion by tapping it with a rawhide hammer until a few threads show through the pinion flange.
8. Install pinion washer and a new nut while holding the pinion flange with flange holder J-8614-01.





- Tighten the nut until the pinion end play is just taken up. Rotate the pinion while tightening the nut to seat the bearings.
Torque: 217 - 678 Nm (160 - 500 ft. lbs.)
Once there is no end play in the pinion, the preload torque should be checked.
- Remove flange holder J-8614-01. Using an inch-pound torque wrench, check the pinion preload by rotating the pinion with the wrench.
Preload should be at 1.0 to 1.6 Nm (8 to 14 inch lbs.) on new bearings, or 0.46 to 0.69 Nm (4 to 6 inch lbs.) for used bearings.
- If the preload torque is below the preloads given above, continue torquing the nut in small increments. Check the preload after each tightening. Each tightening increases the bearing preload by several pounds. If the bearing preload is exceeded, the pinion will have to be removed, and a new collapsible spacer installed.
- Once a preload of 1.0 to 1.4 Nm (8 to 12 inch lbs.) has been obtained, rotate the pinion several times to assure that the bearings have seated. Recheck the preload, and adjust if necessary.

DETERMINATION OF BACKLASH & PRELOAD SHIMS
1. Install master side bearings onto the case.
2. Install differential assembly into the carrier.
3. Install the bearing cap and finger tight bolts.
4. Set up the dial indicator.
5. Force the differential assembly away from the pinion gear until it is completely seated against the cross bore face of the carrier.
6. With force still applied to the differential case, place the tip of dial indicator on a machined surface of the differential case, if available, or on the head of a ring gear screw, and set the indicator at zero (0).
7. Force the ring gear to mesh with the pinion gear. Rock the ring gear slightly to make sure the gear teeth are meshed. Repeat this procedure several times until the same reading is obtained each time. Be sure the indicator reads zero (0) each time the ring gear is forced back into contact with the cross bore face. This reading will be the necessary amount of shims to be placed between the differential case and side bearing cone on the ring gear side.
8. The remaining amount of shims, which is the difference between the overall found in step 6 of Side Bearing Pre-load Adjustment and step (7) above, should be placed on the other side of the differential case, plus additional 0.38 mm (0.015 inch) for obtaining preload and backlash.





9. Place the required amount of shims on each hub as determined in the previous steps and assemble side bearing cone by using installer J-21784 and handle J-8592.
10. Total torque to rotate - Increase of pinion torque to rotate due to differential case assembly shall not exceed 3.4 Nm (30 inch lbs.) divided by the gear ratio.





11. Assemble the spreader J-24385-B and indicator to the carrier as shown in figure. Spread the carrier 0.5 mm (0.02 inch) for differential installation.

Caution: Do not spread the carrier over 0.5 mm (0.02 inch).

12. Remove the indicator.

BACKLASH ADJUSTMENT
1. Install the differential case assembly and bearing caps.
2. Rotate the case several times to seat the bearings.
3. Remove the spreader.
4. Install the side bearing cap bolts.
Tighten side bearing cap bolts
Torque: 108 Nm (80 ft. lbs.)
5. Install a dial indicator to the case using a magnetic base.





6. Place the indicator stem at the heel end of a tooth.
- Set the dial indicator so that the stem is in line with the gear rotation and perpendicular to the tooth angle.
7. Check and record the backlash at three points around the ring gear.
- The pinion must be held stationary when checking backlash.
- The backlash should be the same at each point within 0.07 mm (0.003 inch). If the backlash varies more than 0.07 mm (0.003 inch), check for burrs, a distorted case flange, or uneven bolting conditions.
8. Backlash at the minimum lash point measured should be between 0.13 and 0.20 mm (0.005 and 0.008 inch) for all new gear sets.
9. If the backlash is not within specifications, move the ring gear in or out from the pinion by increasing the thickness of one shim, and decreasing the thickness of the other shim by the same amount.
This will maintain the correct rear axle side bearing preload.
- Moving 0.05 mm (0.002 inch) worth of shim from one side of the differential to the other will change the backlash adjustment by 0.03 mm (0.001 inch).
10. After obtaining correct tooth contact described in later, install ABS speed sensor.
11. Install the cover with sealant.
Torque: 40 Nm (30 ft. lbs.)
12. Fill the axle lubricant.

GEAR TOOTH PATTERN CHECK
Checking the ring gear to pinion tooth pattern is to be done only after setting up the axle according to the methods stated. The pattern check is NEVER to be used as an initial check, or instead of checking pinion depth and backlash adjustments.





This check is only to verify the correct adjustment of the gear set after set up.
1. Wipe all oil out of the carrier, and carefully clean each tooth of the ring gear.
2. Use gear marking compound 1052351 or equivalent and apply this mixture sparingly to all ring gear teeth, using a medium-stiff brush. When properly used, the area of pinion tooth contact will be visible when hand load is applied.
3. Tighten the bearing cap bolts to the specified torque.
4. Expand the brake shoes until a torque of 54 to 68 Nm (40 to 50 ft. lbs.) is required to turn the pinion. A test made without loading the gears will not give a satisfactory pattern. Turn the pinion flange with a wrench so that the ring gear rotates one full revolution, then reverse the rotation so that the ring gear rotates one revolution in the opposite direction.





5. Observe the pattern on the ring gear teeth and compare this with figure.

ADJUSTMENTS AFFECTING TOOTH CONTACT
Two adjustments can be made which will affect tooth contact pattern: backlash, and the position of the drive pinion in the case. The effects of bearing preloads are not readily apparent on head loaded tooth contact pattern tests; however, these adjustments should be within specifications before proceeding with backlash and drive pinion adjustments.
The position of the drive pinion is adjusted by increasing or decreasing the distance between the pinion head and the centerline of the ring gear.
Decreasing the distance will move the pinion closer to the centerline of the ring gear. Increasing the distance will move the pinion farther away from the centerline of the ring gear.
Backlash is adjusted by means of the side bearing adjusting shims which move the entire case and ring gear assembly closer to, or farther from, the drive pinion. (The adjusting shims are also used to set side bearing preload.)
If the thickness of the right shim is increased (along with decreasing the left shim thickness), backlash will increase.
The backlash will decrease if the left shim thickness is increased (along with a decrease in right shim thickness).