Curiosii for ever!: Car repair manuals for everyone.

System Relay: Testing and Inspection

Heater Relay




1. Disconnect the heater relay (X-1).
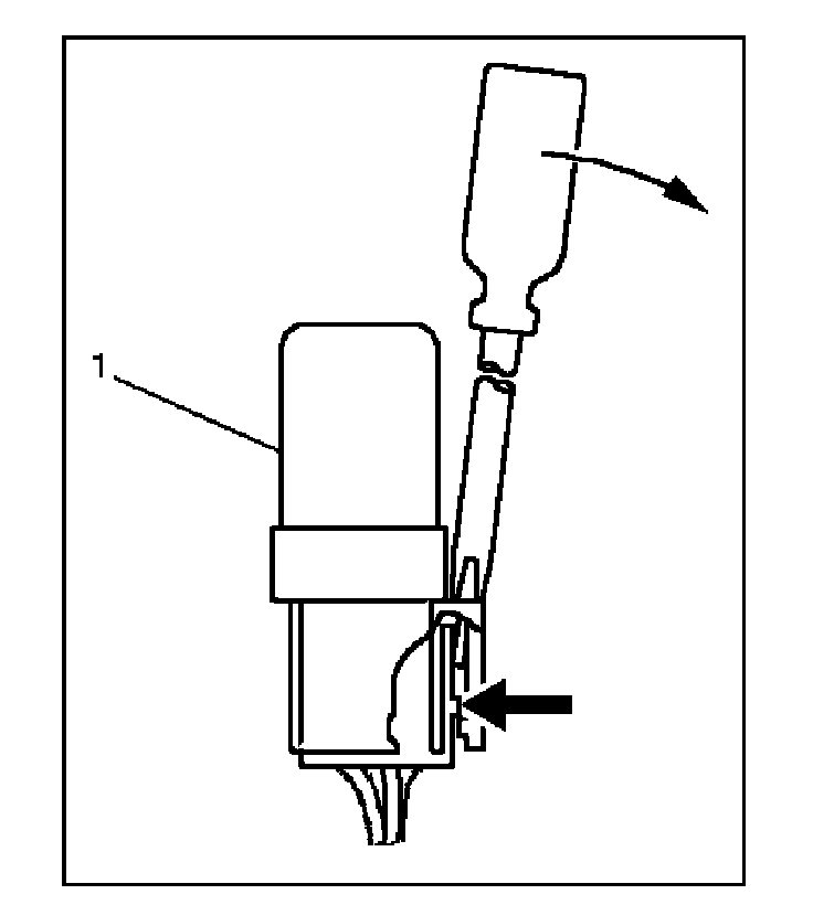
- When removing the connector for relay, unfasten the tank lock of the connector by using a screwdriver, then pull the relay (1) out.




2. Check for continuity between the heater relay (X-1) terminals.