Curiosii for ever!
: Car repair manuals for everyone.
Home
>>
Isuzu Truck
>>
2001
>>
Rodeo LS 2WD V6-3.2L
>>
Repair and Diagnosis
>>
Specifications
>>
Mechanical Specifications
>>
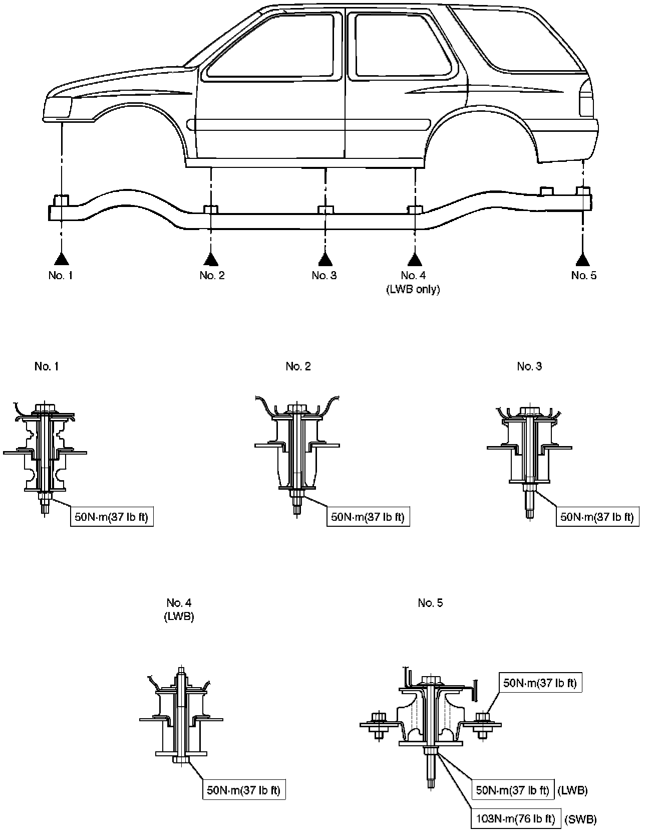
Body / Frame Mount Bushing
Body / Frame Mount Bushing
Torque Specifications (Part 1):