Curiosii for ever!
: Car repair manuals for everyone.
Home
>>
Isuzu Truck
>>
2000
>>
VehiCROSS 4WD V6-3.5L
>>
Repair and Diagnosis
>>
Diagrams
>>
Exploded Views
>>
Automatic Transmission/Transaxle
Automatic Transmission/Transaxle
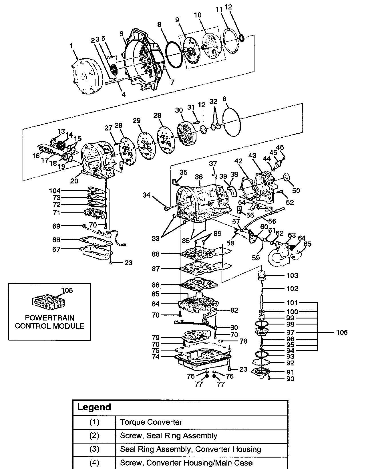
4L30-E Parts List
Case And Associated Parts
Pump Assembly
Valve Body Assemblies
Overdrive Internal Components
Internal Components
Center Support
Assembly