Curiosii for ever!: Car repair manuals for everyone.

Cruise Control: Testing and Inspection




The cruise control unit uses the cruise main indicator light and diagnosis the failure, when the control unit detect abnormality on the table.

DTC Display Condition
1. While starter switch on and vehicle speed is 0 kph, the DTC output begins in top priority by cancel switch turn on and off being repeated three times for 2 secs. while cruise main switch pushing on, and stops the DTC output whether vehicle speed is more than 10 kph or the resume switch is turned on.
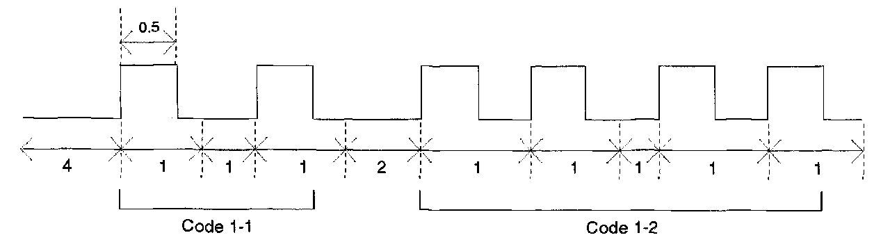
2. The cruise control unit outputs the DTC(s) in order from small figure of the code.
3. The header of display of DTC(s) is assumed 4 secs., and it is 2 secs. between different kind of codes.
4. The DTC(s) are erased with the starter switch turned off.

DTC Display Format




1. When no DTCs are detected. (The unit : sec.)




2. When two or more DTCs are detected. (The unit : Sec.)