Curiosii for ever!: Car repair manuals for everyone.

Unit Overhaul Part 2

REASSEMBLY
1. Inspect selector shaft seal and replace it if necessary.

NOTE: Use a seal installer when replacing the seal.
- Install selector shaft.

NOTE: Spring pin groove must be positioned inside the case.

2. Install spring pin. Be sure the selector shaft can move freely. Do not push the pin flush with the case surface. Leave enough height for removal.
3. Install actuator assembly (1).





4. Install parking lock and range selector lever (2) and new 17 mm nut. Tighten the nut to the specified torque.

Torque: 22 Nm (16 Ft. lbs.)

5. Rotate main case to vertical position, extension end facing down.
- Install brake band assembly (3).

NOTE: Be sure to align servo pin area with the servo hole.

6. Install thrust bearing (4).

NOTE: The case bushing acts as a guide for the thrust bearing.

7. Install brake drum (5).
8. Install reaction sun gear (6).
9. Install needle bearing (7).





10. Inspect planetary carrier assembly (8) for wear and damage. If necessary replace it.
- Measure pinion end play clearance with a feeler gauge.

Clearance: 0.13 mm - 0.89 mm (0.005 inch - 0.035 inch)

If clearance is outside specified value, replace the planetary carrier assembly.
11. Install the thrust bearing (9) on the output shaft.

NOTE: Use petroleum jelly to hold the thrust bearing in place.




12. Align planetary pinions. Each pinion is marked with double points to indicate the master tooth space and exactly opposite with a single point to indicate the master tooth. The markings on the planetary carrier consist of double lines which are to be lined up with the double points on two opposite pinions; the single lines are to be lined up with the single points on the other two pinions.
- After all four pinions are lined up, slide on the third clutch assembly. Rotate third clutch and check mark alignment. Considering that the ring gear tooth between the double points of one planetary pinion is tooth number 1, count the teeth to check that the single points on the two adjacent pinions are between teeth 23 and 24 of the ring gear, and that the ring gear tooth between the double points of the opposite pinion is tooth number 46. If the ring gear and pinions are not lined up, remove and realign them.





13. Install planetary carrier (8) with third clutch (12).

NOTE: Do not force. When properly aligned, the parts will fit together easily.

14. Remove the third clutch (12).
15. Install bearing (11) and washer (10).

NOTE: Use petroleum jelly to hold the washer and bearing in place.

16. Carefully align the second clutch plate inner tangs.
- Install thrust washer, tangs pointing downward, and locating tang positioned in slot on second clutch hub.

NOTE: Use petroleum jelly to hold thrust washer in place.





17. Install third clutch and intermediate shaft assembly (13) into the second clutch drum (14).
18. Install second and third clutch assemblies into the main case. Twist output shaft and clutch assemblies to ensure proper fit.
19. Install pressure plate (15) with lip side up, tang facing valve body face.
20. Install reverse clutch plates. Start with a steel plate (117) and alternate with a lined plate (16).





21. Install waved clutch plate (18) with center tang facing valve body side.

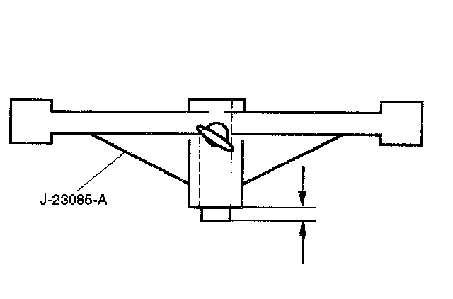
22. Second clutch end play measurement





1. Install the J-23085-A Selective washer gauging tool (with spacer ring) on the case flange and against the intermediate shaft.





2. Position the inner shaft of the gauging tool against the thrust surface of the second clutch hub.
3. Tighten thumb screw. Remove the tool.
4. Fit the spacer ring on the inner shaft of the tool.





5. Measure the gap and select appropriate washer as shown in the chart.





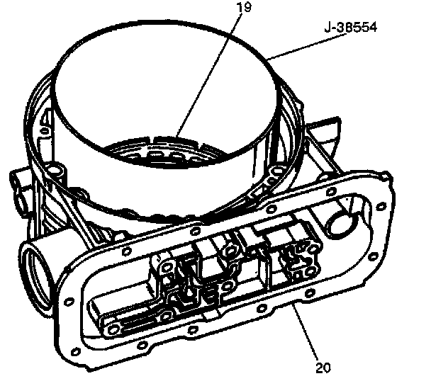
23. Inspect fourth clutch piston seals and replace if necessary.
- Lubricate J-38554 fourth clutch piston fitter and install it on fourth clutch piston (19).
- Install fourth clutch piston (19) in adapter case (20).
- Remove fitter.

24. Install retainer and spring assembly (22) into fourth clutch piston (21).








25. Install snap ring (23) in adapter case.
- Install J-23327 and J-23327-90 fourth clutch spring compressor.
- Seat snap ring in groove.
- Remove compressor.
26. Install selective washer using petroleum jelly.
27. Install two O-ring seals (24) in main case and adapter case/main case seal ring (25).





28. Install J-38588 guide pins. Install adapter case and center support assembly to main case.
29. Install thrust washer (26) into adapter case, with tangs pointing downwards.
30. Preassemble overdrive internal gear (27) and thrust bearing assembly (28) onto the turbine shaft and overrun clutch assembly.

NOTE: Install bearing assembly, black side up. Use petroleum jelly to keep assembly in place.

31. Install overdrive carrier (30) and internal gear assembly into adapter case.
32. Install fourth clutch plates (29) in the following order: Steel, Lined, Steel, Steel, Lined, Steel. Steel plates go in with short tang facing towards valve body surface.




33. Install fourth clutch retainer(31) with the notch facing up and positioned towards valve body surface.
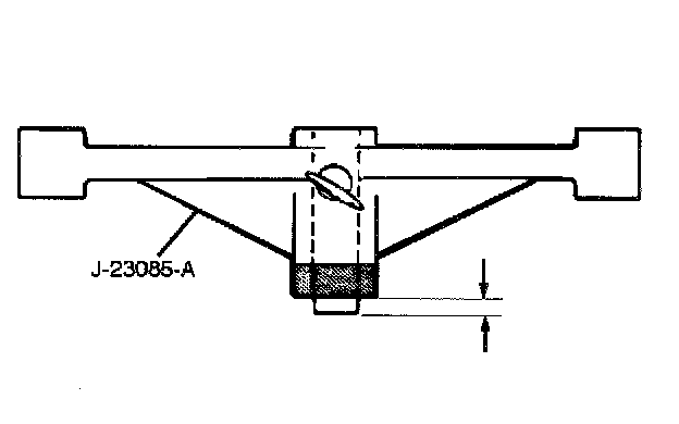
34. Overdrive clutch end play measurement





1. Install the J-23085-A selective washer gauging tool on the adapter case flange and against the input shaft.





2. Position the inner shaft of the tool against the thrust surface of the overrun clutch housing.
3. Tighten thumb screw. Remove the tool.





4. Measure gap. Select appropriate size washer as shown in the chart.
5. Set selective thrust washer aside.
35. Install selective washer (32).

NOTE: Use petroleum jelly to hold selective washer in place.

36. Install gasket (33).





37. Install converter housing and oil pump assembly (34) to adapter case.
- Fit and tighten seven outer 13 mm screws.

Torque: 39 Nm (29 Ft. lbs.)

- Ensure free rotation of pump using J-23082-01 pump rotation tool.
38. Overdrive clutch end play measurement.





1. Fit J-25022 and J-24773-1 turbine shaft puller on turbine shaft.
2. Position axial play checking tool on converter housing mating face.
3. Pull turbine shaft upwards with puller until first resistance is met. (due to weight of overdrive assembly)
4. Maintain shaft in this position and set indicator to zero.
5. Pull turbine shaft further upwards with puller. Read end play shown on indicator.

End play: 0.1 mm - 0.8mm (0.004 inch - 0.031 inch)

6. Remove axial play checking tool and puller.

NOTE: If end play is not correct, repeat selective washer selection.