Curiosii for ever!
: Car repair manuals for everyone.
Home
>>
Isuzu Truck
>>
1998
>>
Trooper LS V6-3.5L
>>
Repair and Diagnosis
>>
Powertrain Management
>>
Transmission Control Systems
>>
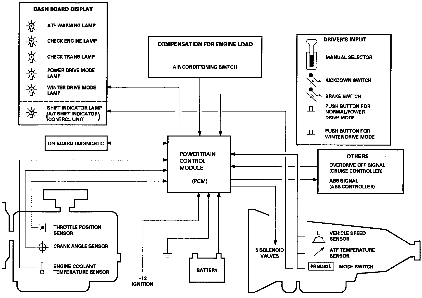
Diagrams
Transmission Control Systems: Diagrams