Curiosii for ever!: Car repair manuals for everyone.

Parts For Electrical Circuit

Wiring - Wire color







All wires have color-coded insulation.
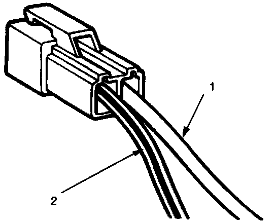
Wires belonging to a system's main harness will have a single color (1). Wires belonging to a system's subcircuits will have a colored stripe (2). Striped wires use the code shown in the figure to show wire size and colors.

Wiring - Wire color Coding




Abbreviations are used to indicate wire color within a circuit diagram.

Wiring - Wire Size




The size of wire used in a circuit is determined by the amount of current (amperage), the length of the circuit, and the voltage drop allowed. The wire size and load capacity shown, are specified by AWG (American Wire Gauge). (Nominal size means approximate cross sectional area (1).)




Wiring - Wire Size Table