Curiosii for ever!
: Car repair manuals for everyone.
Home
>>
Isuzu Truck
>>
1998
>>
Rodeo S 2WD V6-3.2L
>>
Repair and Diagnosis
>>
Powertrain Management
>>
Computers and Control Systems
>>
Testing and Inspection
>>
Component Tests and General Diagnostics
>>
Fuel Trim System Monitor Diagnostic Operation
>>
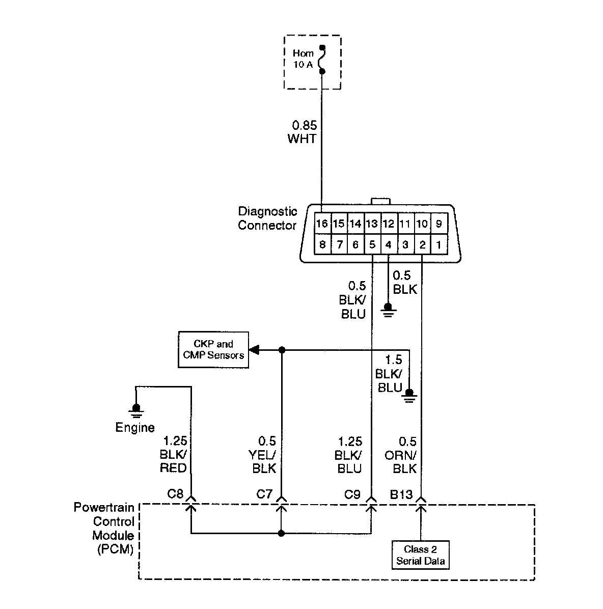
On-Board Diagnostic (OBD II) System Check
On-Board Diagnostic (OBD II) System Check