Curiosii for ever!: Car repair manuals for everyone.

Component Tests and General Diagnostics

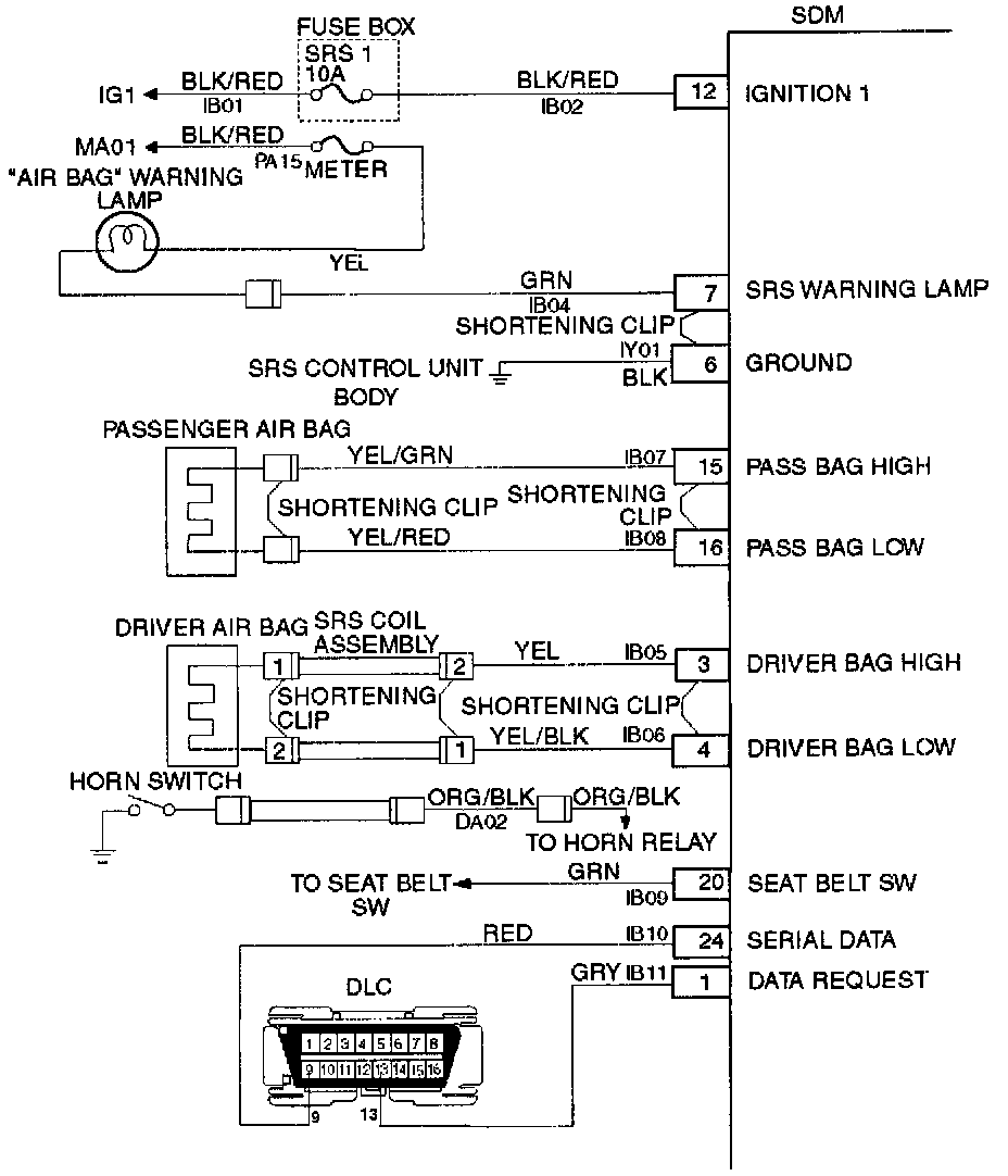
Chart A: SDM Integrity Check

SDM Integrity Check:





Circuit Description
When the SDM recognizes "ignition 1" voltage, applied to terminals "12", is greater than 9 Volts, the "AIR BAG" warning lamp is flashed 7 times to verify operation. At this time the SDM performs "Turn-ON" tests followed by "Continuous Monitoring" tests. When a malfunction is detected, the SDM sets a current diagnostic trouble code and illuminates the "AIR BAG" warning lamp. The SDM will clear current diagnostic trouble codes and move them to a history file when the malfunction is no longer detected and/or the ignition switch is cycled, except for DTCs 51, 53 and 71. DTC 71 can only be cleared using a scan tool "Clear Codes" command in case that the malfunction on DTC 71 has been solved and no DTCs 51 and 53 were remained. DTCs 51, 53 and 71 can not be cleared after a "Clear Codes" command is issued.

Chart A / SDM Integrity Check:





Chart Test Description
Number(s) below refer to step number(s) on the diagnostic chart.

1. This test confirms a current malfunction. If no current malfunction is occurring (history DTC set) the "Diagnostic Aids" for the appropriate diagnostic trouble code should be referenced. The SDM should not be replaced for a history diagnostic trouble code.
2. This test checks for a malfunction introduced into the SRS during the diagnostic process. It is extremely unlikely that a malfunctioning SDM would cause a new malfunction to occur during the diagnostic process.
3. When all circuitry outside the SDM has been found to operate properly, as indicated by the appropriate diagnostic chart, then and only then should the SDM be replaced.