Curiosii for ever!: Car repair manuals for everyone.

System Relay: Testing and Inspection




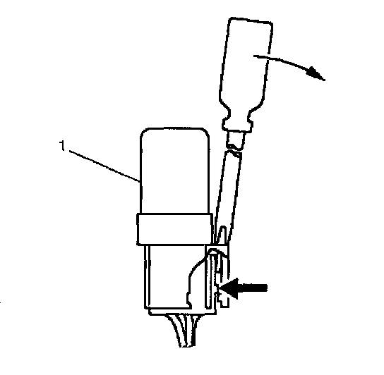
1. Disconnect the heater relay (X-6).
- When removing the connector for relay, unfasten the tank lock of the connector by using a screwdriver, then pull the relay (1) out.




2. Check for continuity between the heater relay (X-6) terminals.






Disconnect relays and check for continuity and resistance between relay terminals.