Curiosii for ever!: Car repair manuals for everyone.

Removal Procedure





Some connectors use terminals called Metri-Pack Series 150. These may be used at the engine coolant temperature (ECT) sensor.
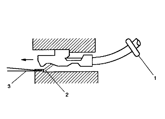
1. Slide the seal (1) back on the wire.
2. Insert the J 35689 tool or equivalent (3) in order to release the terminal locking tang (2).
3. Push the wire and the terminal out through the connector. If you reuse the terminal, reshape the