Curiosii for ever!: Car repair manuals for everyone.

Installation Procedure





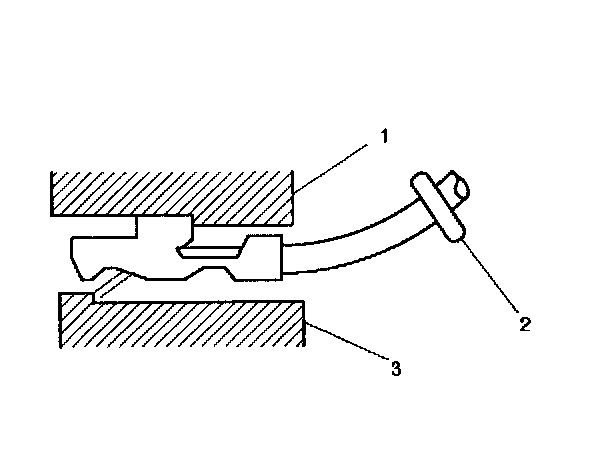
Metri-Pack terminals are also referred to as "pull-to-seat" terminals.
1. In order to install a terminal on a wire, the wire must be inserted through the seal (2) and through the connector (3).
2. The terminal (1) is then crimped onto the wire.
3. Then the terminal is pulled back into the connector to seat it in place.