Curiosii for ever!
: Car repair manuals for everyone.
Home
>>
Infiniti
>>
2013
>>
G37 Convertible V6-3.7L (VQ37VHR)
>>
Repair and Diagnosis
>>
Accessories and Optional Equipment
>>
Antitheft and Alarm Systems
>>
Description and Operation
>>
Intelligent Key System/Engine Start Function
>>
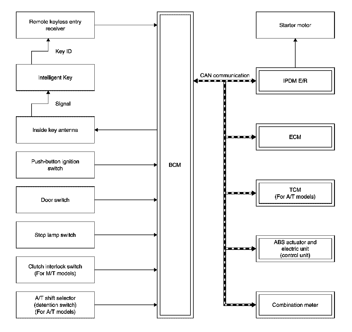
System Diagram
System Diagram
INTELLIGENT KEY SYSTEM/ENGINE START FUNCTION
System Diagram