Curiosii for ever!
: Car repair manuals for everyone.
Home
>>
Infiniti
>>
2012
>>
M56 V8-5.6L (VK56VD)
>>
Repair and Diagnosis
>>
Specifications
>>
Mechanical Specifications
>>
Engine
>>
System Specifications
>>
Cylinder Head
Cylinder Head
SERVICE DATA AND SPECIFICATIONS (SDS)
Cylinder Head
CYLINDER HEAD
Unit: mm (in)
VALVE DIMENSIONS
Unit: mm (in)
VALVE GUIDE
Unit: mm (in)
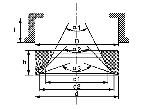
VALVE SEAT
Unit: mm (in)
VALVE SPRING