Curiosii for ever!
: Car repair manuals for everyone.
Home
>>
Infiniti
>>
2012
>>
M37x AWD V6-3.7L (VQ37VHR)
>>
Repair and Diagnosis
>>
Powertrain Management
>>
Transmission Control Systems
>>
Description and Operation
>>
7AT RE7R01A
>>
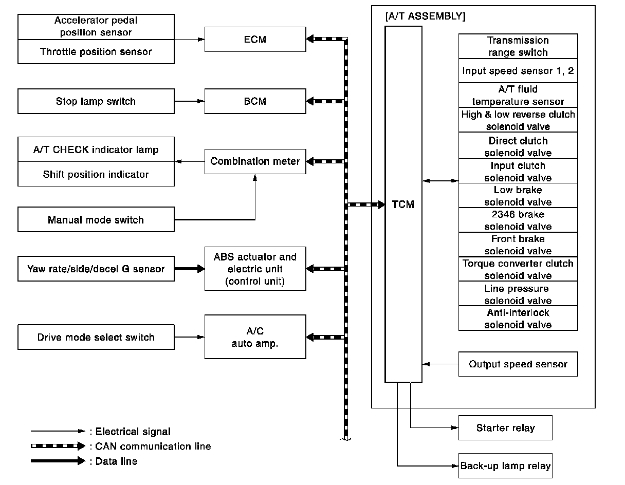
A/T Control System
>>
System Diagram
System Diagram
SYSTEM
A/T CONTROL SYSTEM : System Diagram