Curiosii for ever!
: Car repair manuals for everyone.
Home
>>
Infiniti
>>
2012
>>
M37 V6-3.7L (VQ37VHR)
>>
Repair and Diagnosis
>>
Relays and Modules
>>
Relays and Modules - Lighting and Horns
>>
Headlamp Alignment Control Module
>>
Description and Operation
>>
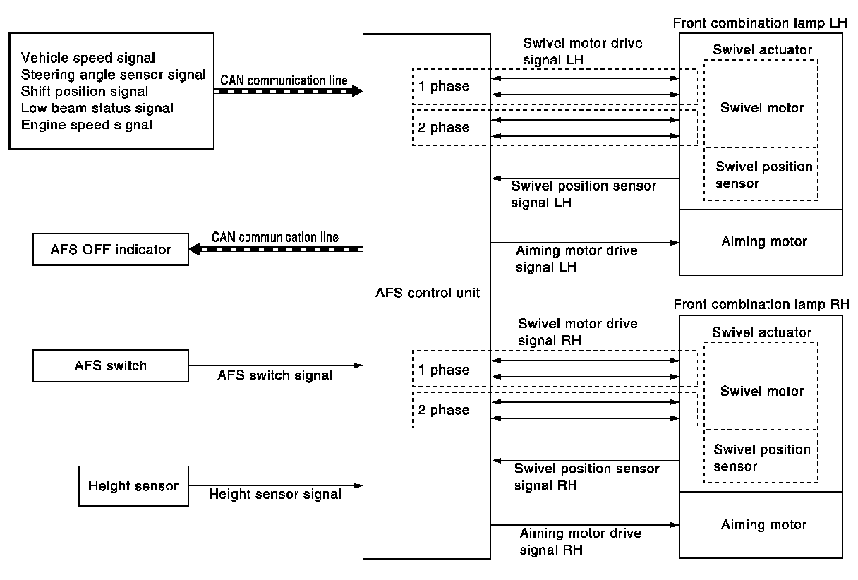
System Diagram
System Diagram
SYSTEM
ACTIVE ADAPTIVE FRONT-LIGHTING SYSTEM : System Diagram