Curiosii for ever!
: Car repair manuals for everyone.
Home
>>
Infiniti
>>
2012
>>
M37 V6-3.7L (VQ37VHR)
>>
Repair and Diagnosis
>>
Powertrain Management
>>
Computers and Control Systems
>>
Description and Operation
>>
Engine Control System
>>
System Diagram
System Diagram
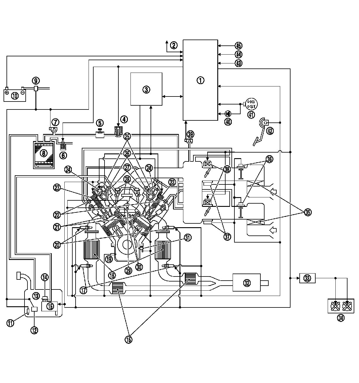
SYSTEM
ENGINE CONTROL SYSTEM : System Diagram