Curiosii for ever!
: Car repair manuals for everyone.
Home
>>
Infiniti
>>
2012
>>
M37 V6-3.7L (VQ37VHR)
>>
Repair and Diagnosis
>>
Body and Frame
>>
Seats
>>
Memory Positioning Systems
>>
Description and Operation
>>
Entry Assist Function
>>
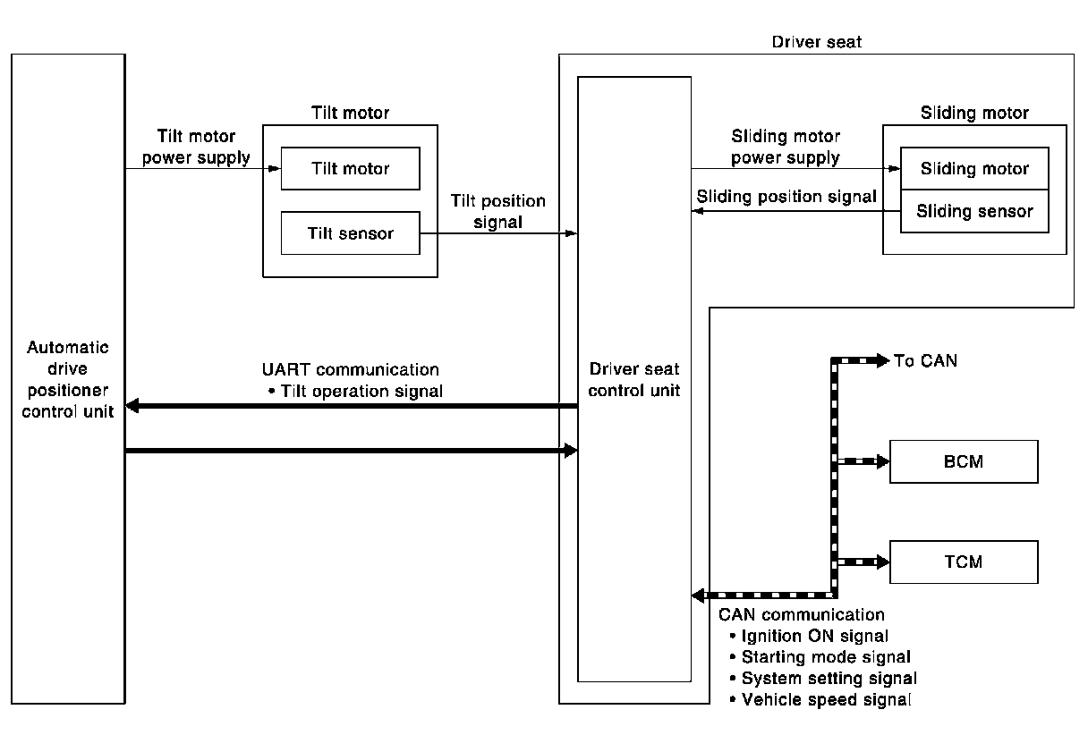
System Diagram
System Diagram
SYSTEM
ENTRY ASSIST FUNCTION : System Diagram