Curiosii for ever!: Car repair manuals for everyone.

System Description




SHIFT LOCK SYSTEM

System Description

- Shift lock prevents an unintentional start of the vehicle that may be caused by an incorrect operation while selector lever is in the "P" position.
- Selector lever can be shifted from the "P" position to another position when the following conditions are satisfied.
- Ignition switch ON
- Stop lamp switch is ON (brake pedal is depressed)
- Selector lever knob button is pressed

SHIFT LOCK OPERATION

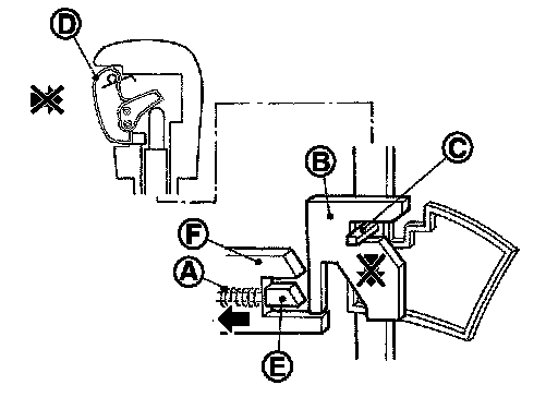
When brake pedal is not depressed and selector lever is in "P" position. (Unable to shift selector lever.)





The shift lock solenoid (A) inside the shift lock unit is not energized if the brake pedal is not depressed while the ignition switch is ON.
The lock plate (B) lowers according to the downward movement of the position pin (C) when the selector button (D) is pressed, and presses only slider B (E) into the shift lock unit. Slider A (F) located below the lock plate prevents the downward movement of the lock plate with the spring force. The selector lever cannot be shifted from the "P" position for this reason.
However, slider A is forcibly pressed into the shift lock unit, allowing the selector lever to shift if the shift lock release button is pressed.
When brake pedal is depressed and selector lever is in "P" position. (Able to shift selector lever.)





The shift lock solenoid (A) inside the shift lock unit is energized and the relative positions of sliders A (B) and B (C) are maintained when the brake pedal is depressed while the ignition switch is ON.
The lock plate (D) lowers according to the downward movement of the position pin (E), thrusting away sliders A and B, when the selector button (F) is pressed.
The position pin lowers to the position that allows shift operation for this reason. As a result, the selector lever can be shifted out of the P
position.

FORCIBLE RELEASE OF SHIFT LOCK

When an electrical or mechanical malfunction occurs in shift lock system, selector lever shift operation from the "P" position becomes impossible. When shift lock release button is pressed in this state, stopper is forcibly pressed into shift lock unit, and then it becomes possible to release shift lock. By this operation, shift operation becomes possible when a malfunction occurs in shift lock system.

CAUTION:
Never use shift lock release button except when select lever is inoperative when depressing brake pedal while ignition switch is ON.