Curiosii for ever!: Car repair manuals for everyone.

Specification Value




TROUBLE DIAGNOSIS - SPECIFICATION VALUE

Description

The specification (SP) value indicates the tolerance of the value that is displayed in "SPEC" in "DATA MONITOR" mode of CONSULT-III during normal operation of the Engine Control System. When the value in "SPEC"
in "DATA MONITOR" mode is within the SP value, the Engine Control System is confirmed OK. When the value in "SPEC" in "DATA MONITOR" mode is NOT within the SP value, the Engine Control System may have one or more malfunctions.
The SP value is used to detect malfunctions that may affect the Engine Control System, but will not illuminate the MIL.
The SP value will be displayed for the following three items:
- B/FUEL SCHDL (The fuel injection pulse width programmed into ECM prior to any learned on board correction)
- A/F ALPHA-B1/B2 (The mean value of air-fuel ratio feedback correction factor per cycle)
- MAS A/F SE-B1/B2 (The signal voltage of the mass air flow sensor)


Component Function Check


1. PRECONDITIONING

Make sure that all of the following conditions are satisfied.
TESTING CONDITION
- Vehicle driven distance: More than 5,000 km (3,107 miles)
2
- Barometric pressure: 98.3 - 104.3 kPa (1.003 - 1.064 kg/cm, 14.25 - 15.12 psi)
- Atmospheric temperature: 20 - 30�C (68 - 86�F)
- Engine coolant temperature: 75 - 95�C (167 - 203�F)
- Transmission: Warmed-up
- For A/T models: After the engine is warmed up to normal operating temperature, drive vehicle until "ATF
TEMP 1" (A/T fluid temperature sensor signal) indicates more than 60�C (140�F).
- For M/T models: After the engine is warmed up to normal operating temperature, drive for 5 minutes.
- Electrical load: Not applied
- Rear window defogger switch, air conditioner switch, lighting switch are OFF. Steering wheel is straight ahead.
- Engine speed: Idle
- GO TO 2.

2. PERFORM SPEC IN DATA MONITOR MODE

With CONSULT-III
NOTE:
Perform "SPEC" in "DATA MONITOR" mode in maximum scale display.
1.Perform Basic Inspection.
2.Select "B/FUEL SCHDL", "A/F ALPHA-B1", "A/F ALPHA-B2", "MAS A/F SE-B1" and "MAS A/F SE-B2" in
"SPEC" of "DATA MONITOR" mode with CONSULT-III.
3.Make sure that monitor items are within the SP value.
Is the measurement value within the SP value?
YES- INSPECTION END
NO- Go to .


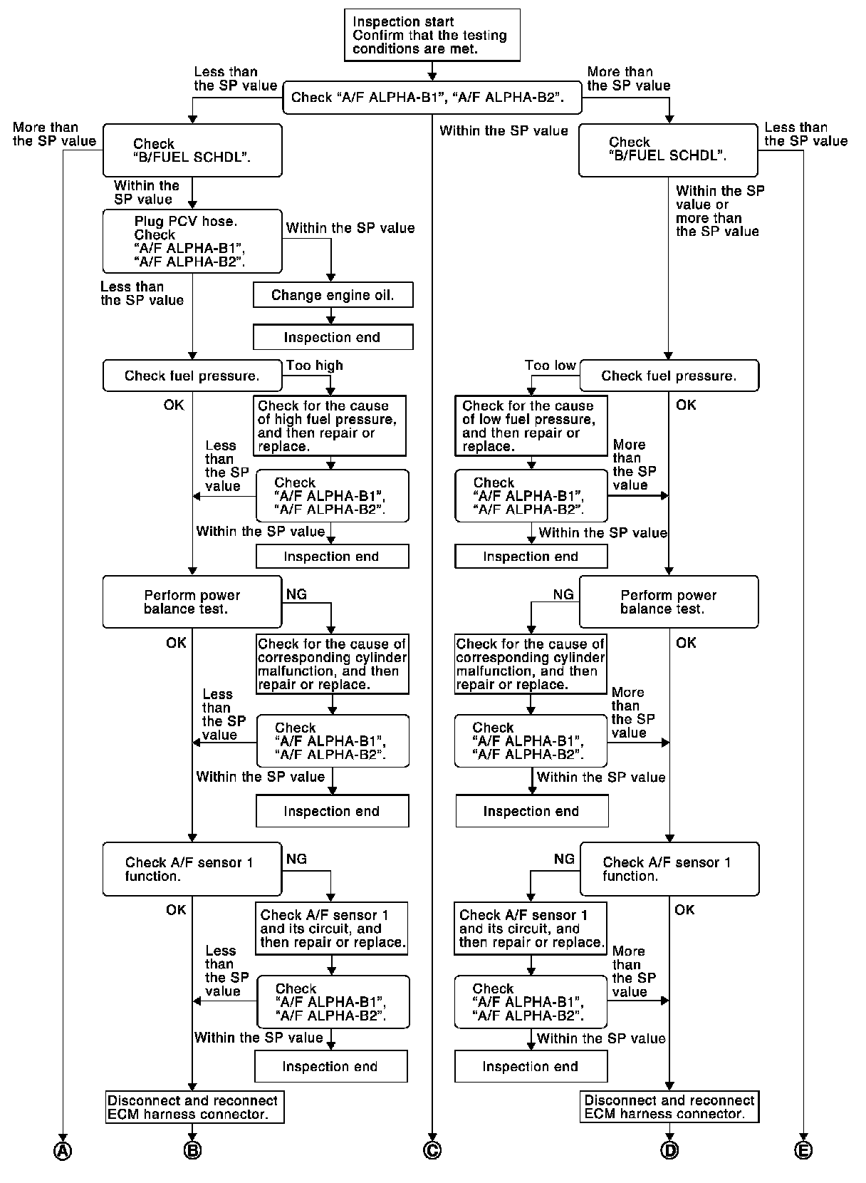
Diagnosis Procedure


OVERALL SEQUENCE












DETAILED PROCEDURE


1. CHECK "A/F ALPHA-B1", "A/F ALPHA-B2"

With CONSULT-III
1.Start engine.
2.Confirm that the testing conditions are met. .
3.Select "A/F ALPHA-B1", "A/F ALPHA-B2" in "SPEC" of "DATA MONITOR" mode, and make sure that each indication is within the SP value.
NOTE:
Check "A/F ALPHA-B1", "A/F ALPHA-B2" for approximately 1 minute because they may fluctuate. It is NG
if the indication is out of the SP value even a little.
Is the measurement value within the SP value?
YES- GO TO 17.
NO-1- Less than the SP value: GO TO 2.
NO-2- More than the SP value: GO TO 3.

2. CHECK "B/FUEL SCHDL"

Select "B/FUEL SCHDL" in "SPEC" of "DATA MONITOR" mode, and make sure that the indication is within the
SP value.
Is the measurement value within the SP value?
YES- GO TO 4.
NO- More than the SP value: GO TO 19.

3. CHECK "B/FUEL SCHDL"

Select "B/FUEL SCHDL" in "SPEC" of "DATA MONITOR" mode, and make sure that the indication is within the
SP value.
Is the measurement value within the SP value?
YES- GO TO 6.
NO-1- More than the SP value: GO TO 6.
NO-2- Less than the SP value: GO TO 25.

4. CHECK "A/F ALPHA-B1", "A/F ALPHA-B2"

1.Stop the engine.
2.Disconnect PCV hose, and then plug it.
3.Start engine.
4.Select "A/F ALPHA-B1", "A/F ALPHA-B2" in "SPEC" of "DATA MONITOR" mode, and make sure that each indication is within the SP value.
Is the measurement value within the SP value?
YES- GO TO 5.
NO- GO TO 6.

5. CHANGE ENGINE OIL

1.Stop the engine.
2.Change engine oil.
NOTE:
This symptom may occur when a large amount of gasoline is mixed with engine oil because of driving conditions (such as when engine oil temperature does not rise enough since a journey distance is too short during winter). The symptom will not be detected after changing engine oil or changing driving conditions.
- INSPECTION END

6. CHECK FUEL PRESSURE

Check fuel pressure. (Testing and Inspection.)
Is the inspection result normal?
YES- GO TO 9.
NO-1- Fuel pressure is too high: Replace "fuel filter and fuel pump assembly", Removal and Installation, and then GO TO 8.
NO-2- Fuel pressure is too low: GO TO 7.

7. DETECT MALFUNCTIONING PART

Check fuel hoses and fuel tubes for clogging.
Is the inspection result normal?
YES- Replace "fuel filter and fuel pump assembly", Removal and Installation, and then
GO TO 8.
NO- Repair or replace and then GO TO 8.

8. CHECK "A/F ALPHA-B1", "A/F ALPHA-B2"

1.Start engine.
2.Select "A/F ALPHA-B1", "A/F ALPHA-B2" in "SPEC" of "DATA MONITOR" mode, and make sure that each indication is within the SP value.
Is the measurement value within the SP value?
YES- INSPECTION END
NO- GO TO 9.

9. PERFORM POWER BALANCE TEST

1.Perform "POWER BALANCE" in "ACTIVE TEST" mode.
2.Make sure that the each cylinder produces a momentary engine speed drop.
Is the inspection result normal?
YES- GO TO 12.
NO- GO TO 10.

10. DETECT MALFUNCTIONING PART

Check the following bellow.
- Ignition coil and its circuit (Ignition Signal.)
- Fuel injector and its circuit (Fuel Injector.)
- Intake air leakage
- Low compression pressure (Testing and Inspection.)
Is the inspection result normal?
YES- Replace fuel injector, Removal and Installation, and then GO TO 11.
NO- Repair or replace malfunctioning part and then GO TO 11.

11. CHECK "A/F ALPHA-B1", "A/F ALPHA-B2"

1.Start engine.
2.Select "A/F ALPHA-B1", "A/F ALPHA-B2" in "SPEC" of "DATA MONITOR" mode, and make sure that each indication is within the SP value.
Is the measurement value within the SP value?
YES- INSPECTION END
NO- GO TO 12.

12. CHECK A/F SENSOR 1 FUNCTION

Perform all DTC CONFIRMATION PROCEDURE related with A/F sensor 1.
- For DTC P0130, P0150, P0130.
- For DTC P0131, P0151, P0131.
- For DTC P0132, P0152, P0132.
- For DTC P0133, P0153, P0133.
- For DTC P2A00, P2A03, P2A00.
Are any DTCs detected?
YES- GO TO 13.
NO- GO TO 15.

13. CHECK A/F SENSOR 1 CIRCUIT

Perform Diagnosis Procedure according to corresponding DTC.
- GO TO 14.

14. CHECK "A/F ALPHA-B1", "A/F ALPHA-B2"

1.Start engine.
2.Select "A/F ALPHA-B1", "A/F ALPHA-B2" in "SPEC" of "DATA MONITOR" mode, and make sure that each indication is within the SP value.
Is the measurement value within the SP value?
YES- INSPECTION END
NO- GO TO 15.

15. DISCONNECT AND RECONNECT ECM HARNESS CONNECTOR

1.Stop the engine.
2.Disconnect ECM harness connector. Check pin terminal and connector for damage, and then reconnect it.
- GO TO 16.

16. CHECK "A/F ALPHA-B1", "A/F ALPHA-B2"

1.Start engine.
2.Select "A/F ALPHA-B1", "A/F ALPHA-B2" in "SPEC" of "DATA MONITOR" mode, and make sure that each indication is within the SP value.
Is the measurement value within the SP value?
YES- INSPECTION END
NO- Detect malfunctioning part according to Symptom Related Diagnostic Procedures.

17. CHECK "B/FUEL SCHDL"

Select "B/FUEL SCHDL" in "SPEC" of "DATA MONITOR" mode, and make sure that the indication is within the
SP value.
Is the measurement value within the SP value?
YES- INSPECTION END
NO-1- More than the SP value: GO TO 18.
NO-2- Less than the SP value: GO TO 25.

18. DETECT MALFUNCTIONING PART

1.Check for the cause of large engine friction. Refer to the following.
-Engine oil level is too high
-Engine oil viscosity
-Belt tension of power steering, alternator, A/C compressor, etc. is excessive
-Noise from engine
-Noise from transmission, etc.
2.Check for the cause of insufficient combustion. Refer to the following.
-Valve clearance malfunction
-Intake valve timing control function malfunction
-Camshaft sprocket installation malfunction, etc.
- Repair or replace malfunctioning part, and then GO TO 30.

19. CHECK INTAKE SYSTEM

Check for the cause of uneven air flow through mass air flow sensor. Refer to the following.
- Crushed air ducts
- Malfunctioning seal of air cleaner element
- Uneven dirt of air cleaner element
- Improper specification of intake air system
Is the inspection result normal?
YES- GO TO 21.
NO- Repair or replace malfunctioning part, and then GO TO 20.

20. CHECK "A/F ALPHA-B1", "A/F ALPHA-B2", AND "B/FUEL SCHDL"

Select "A/F ALPHA-B1", "A/F ALPHA-B2", and "B/FUEL SCHDL" in "SPEC" of "DATA MONITOR" mode, and make sure that each indication is within the SP value.
Is the measurement value within the SP value?
YES- INSPECTION END
NO- "B/FUEL SCHDL" is more, "A/F ALPHA-B1", "A/F ALPHA-B2" are less than the SP value: GO TO
21.

21. DISCONNECT AND RECONNECT MASS AIR FLOW SENSOR HARNESS CONNECTOR

1.Stop the engine.
2.Disconnect mass air flow sensor harness connector. Check pin terminal and connector for damage and then reconnect it again.
- GO TO 22.

22. CHECK "A/F ALPHA-B1", "A/F ALPHA-B2"

1.Start engine.
2.Select "A/F ALPHA-B1", "A/F ALPHA-B2" in "SPEC" of "DATA MONITOR" mode, and make sure that each indication is within the SP value.
Is the measurement value within the SP value?
YES- Detect malfunctioning part of mass air flow sensor circuit and repair it. P0102. Then GO TO 29.
NO- GO TO 23.

23. CHECK "MAS A/F SE-B1", "MAS A/F SE-B2"

Select "MAS A/F SE-B1", "MAS A/F SE-B2" in "SPEC" of "DATA MONITOR" mode, and make sure that the indication is within the SP value.
Is the measurement value within the SP value?
YES- GO TO 24.
NO- More than the SP value: Replace malfunctioning mass air flow sensor, refer to {LINK_TO_MANY:0000000006471780}{LINK_TO_MANY:0000000006471781}, "Exploded
View", and then GO TO 29.

24. REPLACE ECM

1.Replace ECM.
2.Go to {LINK_TO_MANY:0000000006470568}{LINK_TO_MANY:0000000006470569}, "ADDITIONAL SERVICE WHEN REPLACING CONTROL UNIT (ECM) : Special Repair Requirement".
- GO TO 29.

25. CHECK INTAKE SYSTEM

Check for the cause of uneven air flow through mass air flow sensor. Refer to the following.
- Crushed air ducts
- Malfunctioning seal in air cleaner element
- Uneven dirt in air cleaner element
- Improper specification in intake air system
Is the inspection result normal?
YES- GO TO 27.
NO- Repair or replace malfunctioning part, and then GO TO 26.

26. CHECK "B/FUEL SCHDL"

Select "B/FUEL SCHDL" in "SPEC" of "DATA MONITOR" mode, and make sure that the indication is within the
SP value.
Is the measurement value within the SP value?
YES- INSPECTION END
NO- Less than the SP value: GO TO 27.

27. CHECK "MAS A/F SE-B1", "MAS A/F SE-B2"

Select "MAS A/F SE-B1", "MAS A/F SE-B2" in "SPEC" of "DATA MONITOR" mode, and make sure that each indication is within the SP value.
Is the measurement value within the SP value?
YES- GO TO 28.
NO- Less than the SP value: Replace malfunctioning mass air flow sensor, refer to {LINK_TO_MANY:0000000006471780}{LINK_TO_MANY:0000000006471781}, "Exploded
View", and then GO TO 30.

28. CHECK INTAKE SYSTEM

Check for the cause of air leak after the mass air flow sensor. Refer to the following.
- Disconnection, looseness, and cracks in air duct
- Looseness of oil filler cap
- Disconnection of oil level gauge
- Open stuck, breakage, hose disconnection, or cracks in PCV valve
- Disconnection or cracks in EVAP purge hose, stuck open EVAP canister purge volume control solenoid valve
- Malfunctioning seal in rocker cover gasket
- Disconnection, looseness, or cracks in hoses, such as a vacuum hose, connecting to intake air system parts
- Malfunctioning seal in intake air system, etc.
- GO TO 30.

29. CHECK "A/F ALPHA-B1", "A/F ALPHA-B2", AND "B/FUEL SCHDL"

Select "A/F ALPHA-B1", "A/F ALPHA-B2", and "B/FUEL SCHDL" in "SPEC" of "DATA MONITOR" mode, and make sure that each indication is within the SP value.
Is the measurement value within the SP value?
YES- INSPECTION END
NO- Detect malfunctioning part according to Symptom Related Diagnostic Procedures.

30. CHECK "B/FUEL SCHDL"

Select "B/FUEL SCHDL" in "SPEC" of "DATA MONITOR" mode, and then make sure that the indication is within the SP value.
Is the measurement value within the SP value?
YES- INSPECTION END
NO- Detect malfunctioning part according to Symptom Related Diagnostic Procedures.