Curiosii for ever!
: Car repair manuals for everyone.
Home
>>
Infiniti
>>
2012
>>
G37 Convertible V6-3.7L (VQ37VHR)
>>
Repair and Diagnosis
>>
Powertrain Management
>>
Computers and Control Systems
>>
Description and Operation
>>
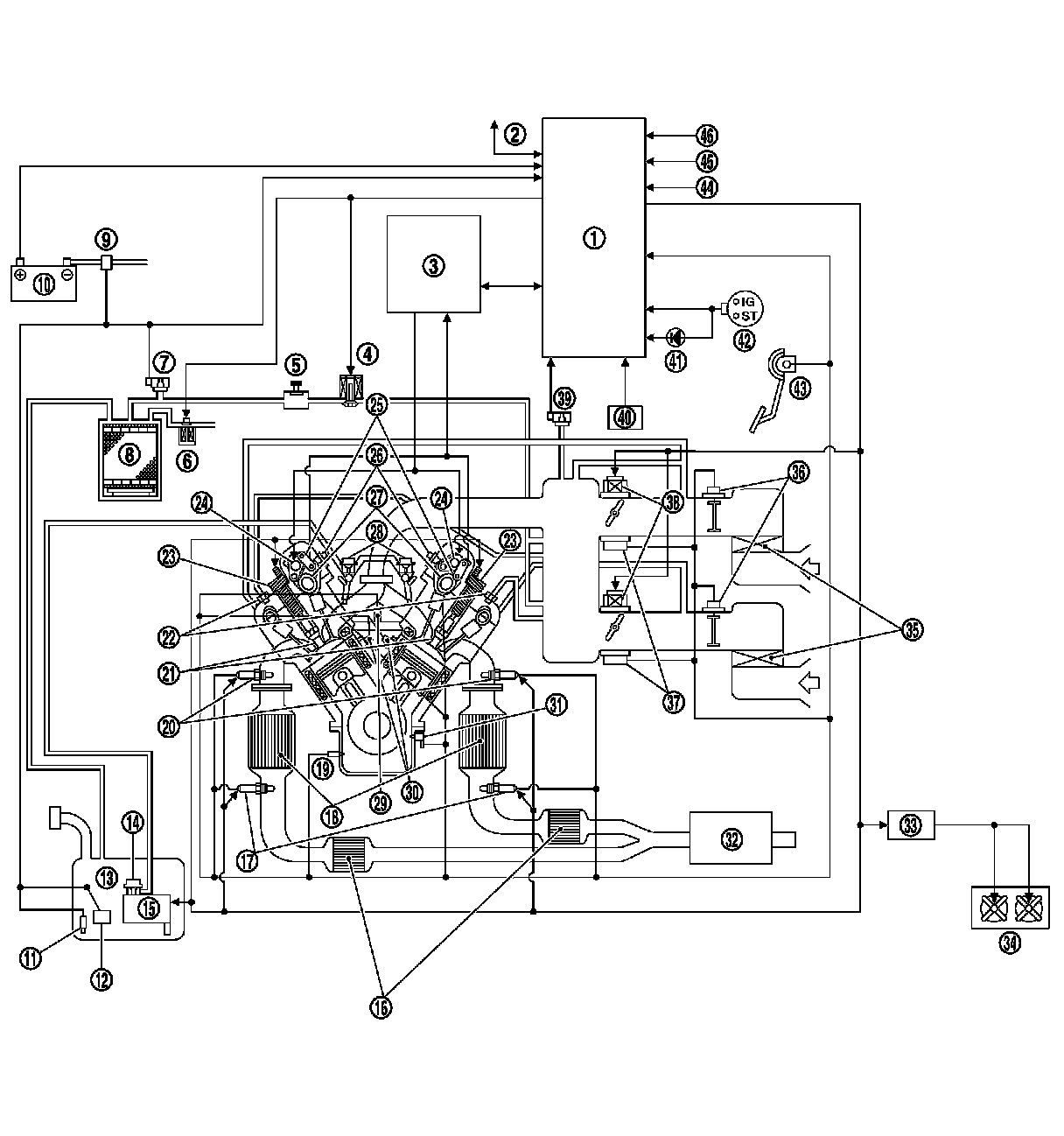
Engine Control System
>>
System Diagram
System Diagram
ENGINE CONTROL SYSTEM
System Diagram