Curiosii for ever!
: Car repair manuals for everyone.
Home
>>
Infiniti
>>
2012
>>
G37 Convertible V6-3.7L (VQ37VHR)
>>
Repair and Diagnosis
>>
Heating and Air Conditioning
>>
Description and Operation
>>
Automatic Air Conditioning
>>
Compressor Control Function
>>
Description
Description
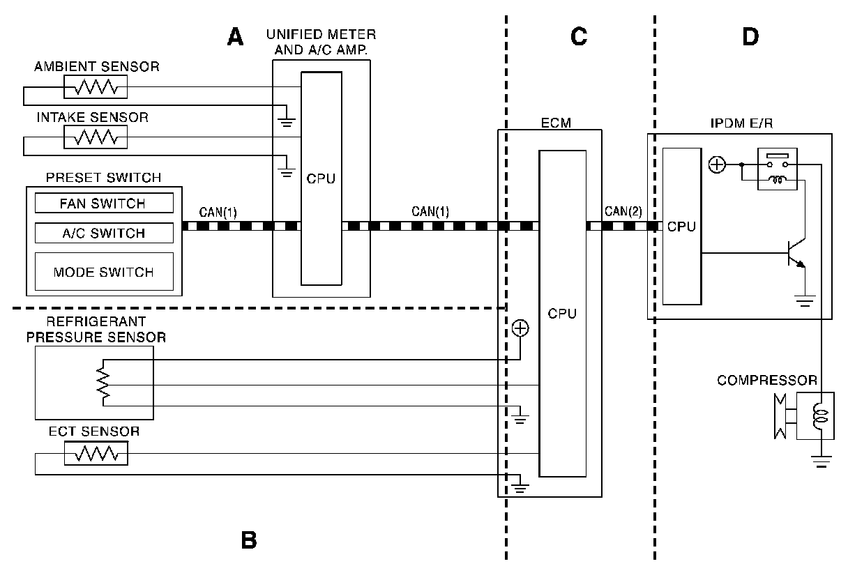
COMPRESSOR CONTROL FUNCTION
Description
PRINCIPLE OF OPERATION
Compressor is not activated.
Functional circuit diagram
Functional initial inspection chart