Curiosii for ever!
: Car repair manuals for everyone.
Home
>>
Infiniti
>>
2012
>>
G37 Convertible V6-3.7L (VQ37VHR)
>>
Repair and Diagnosis
>>
Body and Frame
>>
Mirrors
>>
Memory Positioning Systems
>>
Description and Operation
>>
Memory Function
>>
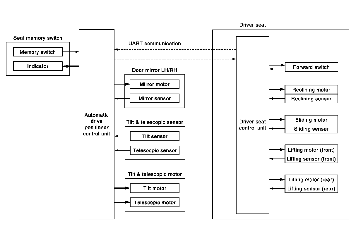
System Diagram
System Diagram
AUTOMATIC DRIVE POSITIONER SYSTEM
MEMORY FUNCTION : System Diagram