Curiosii for ever!
: Car repair manuals for everyone.
Home
>>
Infiniti
>>
2012
>>
G37 Convertible V6-3.7L (VQ37VHR)
>>
Repair and Diagnosis
>>
Accessories and Optional Equipment
>>
Antitheft and Alarm Systems
>>
Description and Operation
>>
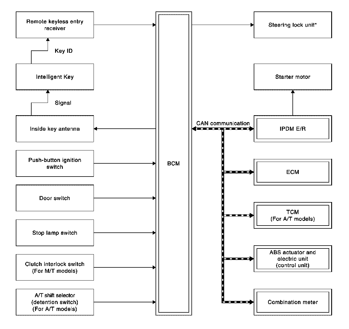
Intelligent Key System/Engine Start Function
>>
System Diagram
System Diagram
INTELLIGENT KEY SYSTEM/ENGINE START FUNCTION
System Diagram
*: Models with steering lock unit