Curiosii for ever!
: Car repair manuals for everyone.
Home
>>
Infiniti
>>
2011
>>
M56x AWD V8-5.6L (VK56VD)
>>
Repair and Diagnosis
>>
Relays and Modules
>>
Relays and Modules - Lighting and Horns
>>
Headlamp Alignment Control Module
>>
Description and Operation
>>
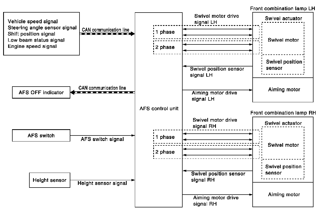
System Diagram
System Diagram
ACTIVE ADAPTIVE FRONT-LIGHTING SYSTEM ACTIVE ADAPTIVE FRONT-LIGHTING SYSTEM : System Diagram