Curiosii for ever!
: Car repair manuals for everyone.
Home
>>
Infiniti
>>
2011
>>
M56 V8-5.6L (VK56VD)
>>
Repair and Diagnosis
>>
Accessories and Optional Equipment
>>
Antitheft and Alarm Systems
>>
Description and Operation
>>
Intelligent Key System/Engine Start Function
>>
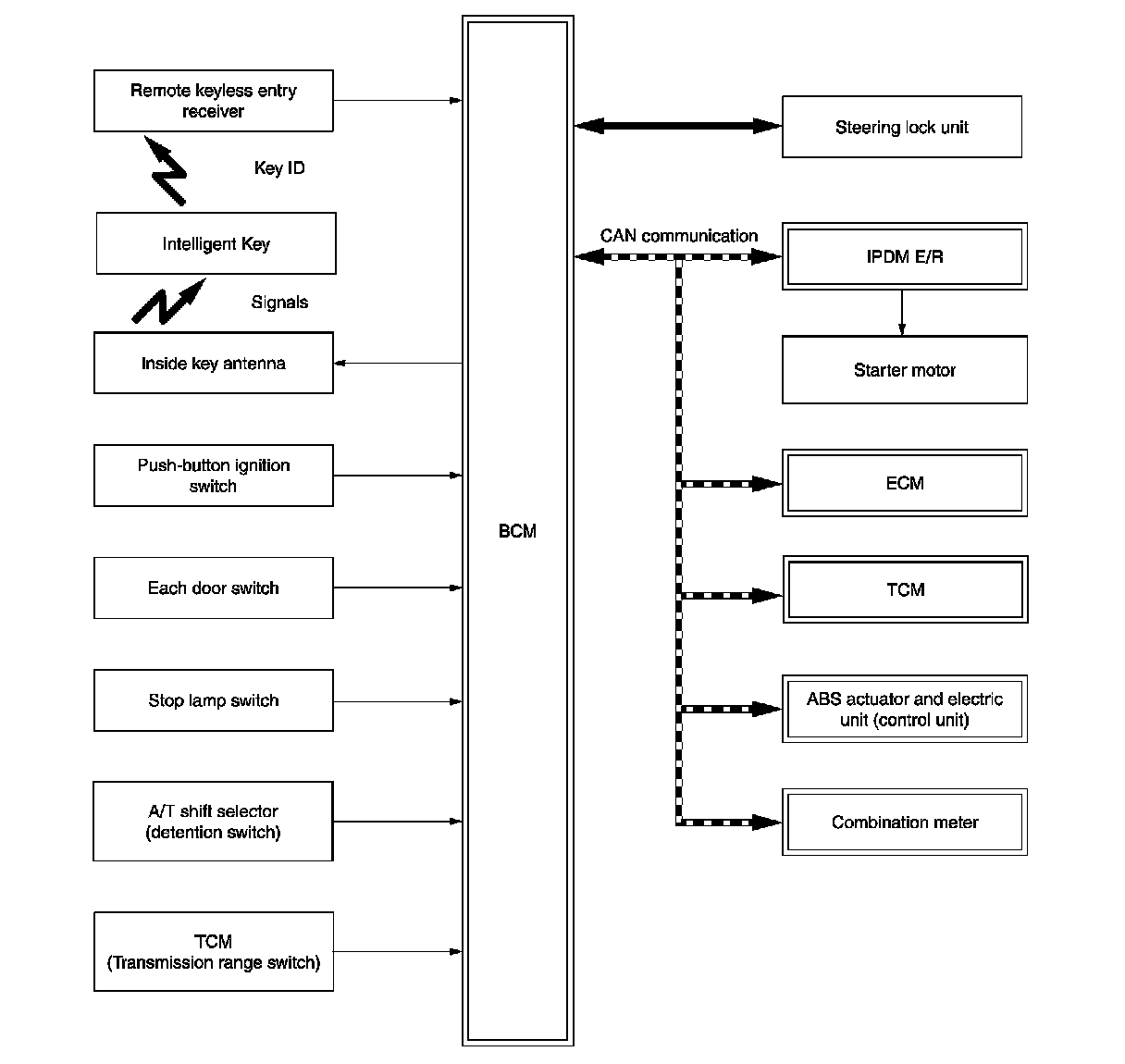
System Diagram
System Diagram
INTELLIGENT KEY SYSTEM/ENGINE START FUNCTION INTELLIGENT KEY SYSTEM/ENGINE START FUNCTION : System Diagram