Curiosii for ever!
: Car repair manuals for everyone.
Home
>>
Infiniti
>>
2011
>>
M37 V6-3.7L (VQ37VHR)
>>
Repair and Diagnosis
>>
Powertrain Management
>>
Transmission Control Systems
>>
Description and Operation
>>
7AT RE7R01A
>>
A/T Control System
>>
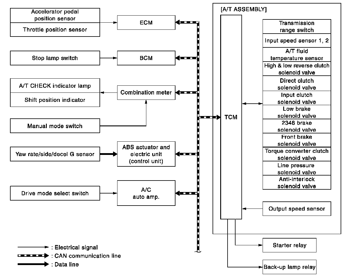
System Diagram
System Diagram
A/T CONTROL SYSTEM A/T CONTROL SYSTEM : System Diagram