Curiosii for ever!: Car repair manuals for everyone.

Transmission Position Sensor/Switch: Service and Repair





ON-VEHICLE SERVICE


Parking Component (2WD Models Only)


REMOVAL AND INSTALLATION

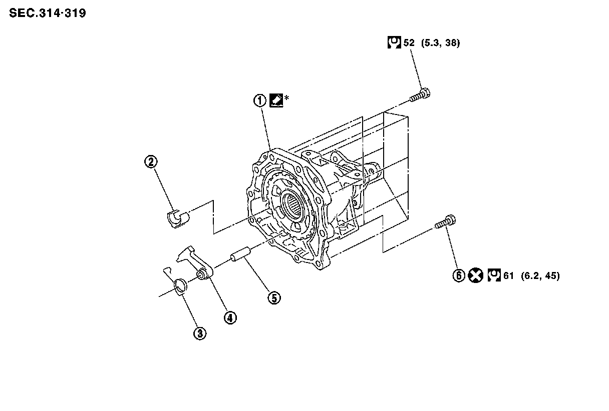
Components











Removal
1. Drain ATF through drain plug.
2. Remove exhaust front tube and center muffler with a power tool. Removal and Installation.
3. Remove rear propeller shaft. Removal and Installation.
4. Remove control rod. Control Rod Removal and Installation.
5. Support A/T assembly with a transmission jack.

CAUTION:
When setting transmission jack, be careful not to allow it to collide against the drain plug.
6. Remove rear engine mounting member with a power tool. Transmission Assembly.
7. Remove engine mounting insulator (rear). Transmission Assembly.





8. Remove tightening bolts (1) for output shaft & companion flange complement and transmission case.

2: Self-sealing bolt
Black arrow: Bolt





9. Tap output shaft & companion flange complement with a soft hammer.





10. Remove output shaft & companion flange complement from transmission case.





11. Remove parking actuator support (1) from output shaft & companion flange complement.





12. Remove parking pawl (with return spring) (1) and pawl shaft (2) from output shaft & companion flange complement.





13. Remove return spring (1) from parking pawl (2).

Inspection





- If the contact surface on parking actuator support, parking pawl, etc. has excessive wear, abrasion, bend, or any other damage, replace the components.

Installation

CAUTION:





After completing installation, check A/T fluid leakage, A/T fluid level and A/T position. Checking A/T Fluid, Testing and Inspection.





1. Install return spring (1) to parking pawl (2).





2. Install parking pawl (with return spring) (1) and pawl shaft (2) in output shaft & companion flange complement.





3. Install parking actuator support (1) in output shaft & companion flange complement.





4. Apply recommended sealant (Genuine Anaerobic Liquid Gasket or equivalent. Fluid Type Specifications.) to output shaft & companion flange complement as shown in the figure.

CAUTION:
Completely remove all moisture, oil and old sealant, etc. from the transmission case and output shaft & companion flange complement mounting surfaces.





5. Install output shaft & companion flange complement to transmission case.





6. Tighten output shaft & companion flange complement bolts (1) to the specified torque. Refer to "Components".

Black arrow: Bolt

CAUTION:
Never reuse self-sealing bolts (2). Refer to GI section to make sure icons (symbol marks) in the figure. Key to Symbols.
7. Install engine mounting insulator (rear). Transmission Assembly.
8. Install rear engine mounting member. Transmission Assembly.
9. Install control rod. Control Rod Removal and Installation.
10. Install rear propeller shaft. Removal and Installation.
11. Install exhaust front tube and center muffler. Removal and Installation.
12. Install drain plug to oil pan. Tighten a necessary drain plug with specified torque. Service and Repair.

CAUTION:
Never reuse drain plug and drain plug gasket.
13. Pour ATF into A/T assembly. .