Curiosii for ever!: Car repair manuals for everyone.

Diagnosis Procedure





TROUBLE DIAGNOSIS - SPECIFICATION VALUE


Diagnosis Procedure


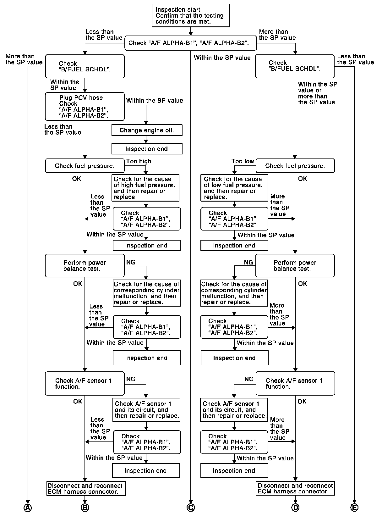
OVERALL SEQUENCE











DETAILED PROCEDURE
1.CHECK "A/F ALPHA-B1", "A/F ALPHA-B2"
1. Start engine.
2. Check that the testing conditions are met. Testing Condition.
3. Select "A/F ALPHA-B1", "A/F ALPHA-B2" in "SPEC" of "DATA MONITOR" mode, and check that each indication is within the SP value.

NOTE:
Check "A/F ALPHA-B1", "A/F ALPHA-B2" for approximately 1 minute because they may fluctuate. It is NG if the indication is out of the SP value even a little.
OK or NG
OK - GO TO 17.
NG (Less than the SP value)-GO TO 2.
NG (More than the SP value)-GO TO 3.
2.CHECK "B/FUEL SCHDL"
Select "B/FUEL SCHDL" in "SPEC" of "DATA MONITOR" mode, and check that the indication is within the SP value.
OK or NG
OK - GO TO 4.
NG (More than the SP value)-GO TO 19.
3.CHECK "B/FUEL SCHDL"
Select "B/FUEL SCHDL" in "SPEC" of "DATA MONITOR" mode, and check that the indication is within the SP value.
OK or NG
OK - GO TO 6.
NG (More than the SP value)-GO TO 6.
NG (Less than the SP value)-GO TO 25.
4.CHECK "A/F ALPHA-B1", "A/F ALPHA-B2"
1. Stop the engine.
2. Disconnect PCV hose, and then plug it.
3. Start engine.
4. Select "A/F ALPHA-B1", "A/F ALPHA-B2" in "SPEC" of "DATA MONITOR" mode, and check that each indication is within the SP value.
OK or NG
OK - GO TO 5.
NG - GO TO 6.
5.CHANGE ENGINE OIL
1. Stop the engine.
2. Change engine oil.

NOTE:
This symptom may occur when a large amount of gasoline is mixed with engine oil because of driving conditions (such as when engine oil temperature does not rise enough since a journey distance is too short during winter). The symptom will not be detected after changing engine oil or changing driving conditions.
- INSPECTION END
6.CHECK FUEL PRESSURE
Check fuel pressure. ( Testing and Inspection.)
OK or NG
OK - GO TO 9.
NG (Fuel pressure is too high)-Replace "fuel level sensor unit and fuel pump (main)". GO TO 8.
NG (Fuel pressure is too low)-GO TO 7.
7.DETECT MALFUNCTIONING PART
1. Check the following.
- Clogged and bent fuel hose and fuel tube
- Clogged fuel filter
- Fuel pump and its circuit ( Diagnosis Procedure.)
2. If NG, repair or replace the malfunctioning part.
If OK, replace "fuel level sensor unit and fuel pump (main)".
- GO TO 8.
8.CHECK "A/F ALPHA-B1", "A/F ALPHA-B2"
1. Start engine.
2. Select "A/F ALPHA-B1", "A/F ALPHA-B2" in "SPEC" of "DATA MONITOR" mode, and check that each indication is within the SP value.
OK or NG
OK - INSPECTION END
NG - GO TO 9.
9.PERFORM POWER BALANCE TEST
1. Perform "POWER BALANCE" in "ACTIVE TEST" mode.
2. Check that each cylinder produces a momentary engine speed drop.
OK or NG
OK - GO TO 12.
NG - GO TO 10.
10.DETECT MALFUNCTIONING PART
1. Check the following below.
- Ignition coil and its circuit ( Diagnosis Procedure.)
- Fuel injector and its circuit ( Diagnosis Procedure.)
- Intake air leakage
- Low compression pressure (Refer to "CHECKING COMPRESSION PRESSURE" in Testing and Inspection.)
2. If NG, repair or replace the malfunctioning part.
If OK, replace malfunctioning fuel injector. (It may be caused by leakage from fuel injector or clogging.)
- GO TO 11.
11.CHECK "A/F ALPHA-B1", "A/F ALPHA-B2"
1. Start engine.
2. Select "A/F ALPHA-B1", "A/F ALPHA-B2" in "SPEC" of "DATA MONITOR" mode, and check that each indication is within the SP value.
OK or NG
OK - INSPECTION END
NG - GO TO 12.
12.CHECK A/F SENSOR 1 FUNCTION
Perform all DTC Confirmation Procedure related with A/F sensor 1.
- For DTC P0130, P0150, P0130.
- For DTC P0131, P0151, P0131.
- For DTC P0132, P0152, P0132.
- For DTC P0133, P0153, P0133.
- For DTC P2A00, P2A03, P2A00.
OK or NG
OK - GO TO 15.
NG - GO TO 13.
13.CHECK A/F SENSOR 1 CIRCUIT
Perform Diagnostic Procedure according to corresponding DTC.
- GO TO 14.
14.CHECK "A/F ALPHA-B1", "A/F ALPHA-B2"
1. Start engine.
2. Select "A/F ALPHA-B1", "A/F ALPHA-B2" in "SPEC" of "DATA MONITOR" mode, and check that each indication is within the SP value.
OK or NG
OK - INSPECTION END
NG - GO TO 15.
15.DISCONNECT AND RECONNECT ECM HARNESS CONNECTOR
1. Stop the engine.
2. Disconnect ECM harness connector.
3. Check pin terminals and connector for damage, and then reconnect it.
- GO TO 16.
16.CHECK "A/F ALPHA-B1", "A/F ALPHA-B2"
1. Start engine.
2. Select "A/F ALPHA-B1", "A/F ALPHA-B2" in "SPEC" of "DATA MONITOR" mode, and check that each indication is within the SP value.
OK or NG
OK - INSPECTION END
NG - Detect malfunctioning part according to Symptom Related Diagnostic Procedures.
17.CHECK "B/FUEL SCHDL"
Select "B/FUEL SCHDL" in "SPEC" of "DATA MONITOR" mode, and check that the indication is within the SP value.
OK or NG
OK - INSPECTION END
NG (More than the SP value)-GO TO 18.
NG (Less than the SP value)-GO TO 25.
18.DETECT MALFUNCTIONING PART
1. Check for the cause of large engine friction. Refer to the following.
- Engine oil level is too high
- Engine oil viscosity
- Belt tension of power steering, alternator, A/C compressor, etc. is excessive
- Noise from engine
- Noise from transmission, etc.
2. Check for the cause of insufficient combustion. Refer to the following.
- Valve clearance malfunction
- Intake valve timing control function malfunction
- Camshaft sprocket installation malfunction, etc.
- Repair or replace malfunctioning part, and then GO TO 30.
19.CHECK INTAKE SYSTEM
Check for the cause of uneven air flow through mass air flow sensor. Refer to the following.
- Crushed air ducts
- Malfunctioning seal of air cleaner element
- Uneven dirt of air cleaner element
- Improper specification of intake air system
OK or NG
OK - GO TO 21.
NG - Repair or replace malfunctioning part, and then GO TO 20.
20.CHECK "A/F ALPHA-B1", "A/F ALPHA-B2", AND "B/FUEL SCHDL"
Select "A/F ALPHA-B1", "A/F ALPHA-B2", and "B/FUEL SCHDL" in "SPEC" of "DATA MONITOR" mode, and check that each indication is within the SP value.
OK or NG
OK - INSPECTION END
NG ("B/FUEL SCHDL" is more, "A/F ALPHA-B1", "A/F ALPHA-B2" are less than the SP value)-GO TO 21.
21.DISCONNECT AND RECONNECT MASS AIR FLOW SENSOR HARNESS CONNECTOR
1. Stop the engine.
2. Disconnect mass air flow sensor harness connector.
3. Check pin terminals and connector for damage and then reconnect it again.
- GO TO 22.
22.CHECK "A/F ALPHA-B1", "A/F ALPHA-B2"
1. Start engine.
2. Select "A/F ALPHA-B1", "A/F ALPHA-B2" in "SPEC" of "DATA MONITOR" mode, and check that each indication is within the SP value.
OK or NG
OK - 1. Detect malfunctioning part of mass air flow sensor circuit and repair it. P0102.
2. GO TO 29.
NG - GO TO 23.
23.CHECK "MAS A/F SE-B1"
Select "MAS A/F SE-B1" in "SPEC" of "DATA MONITOR" mode, and check that the indication is within the SP value.
OK or NG
OK - GO TO 24.
NG (More than the SP value)-Replace mass air flow sensor, and then GO TO 29.
24.REPLACE ECM
1. Replace ECM.
2. Perform initialization of IVIS(NATS) system and registration of all IVIS(NATS) ignition key IDs. .
3. Perform Testing and Inspection.
4. Perform .
5. Perform Throttle Valve Closed Position Learning.
6. Perform Testing and Inspection.
- GO TO 29.
25.CHECK INTAKE SYSTEM
Check for the cause of uneven air flow through mass air flow sensor. Refer to the following.
- Crushed air ducts
- Malfunctioning seal in air cleaner element
- Uneven dirt in air cleaner element
- Improper specification in intake air system
OK or NG
OK - GO TO 27.
NG - Repair or replace malfunctioning part, and then GO TO 26.
26.CHECK "B/FUEL SCHDL"
Select "B/FUEL SCHDL" in "SPEC" of "DATA MONITOR" mode, and check that the indication is within the SP value.
OK or NG
OK - INSPECTION END
NG (Less than the SP value)-GO TO 27.
27.CHECK "MAS A/F SE-B1"
Select "MAS A/F SE-B1" in "SPEC" of "DATA MONITOR" mode, and check that the indication is within the SP value.
OK or NG
OK - GO TO 28.
NG (Less than the SP value)-Replace mass air flow sensor, and then GO TO 30.
28.CHECK INTAKE SYSTEM
Check for the cause of air leakage after the mass air flow sensor. Refer to the following.
- Disconnection, looseness, and cracks in air duct
- Looseness of oil filler cap
- Disconnection of oil level gauge
- Open stuck, breakage, hose disconnection, or cracks in PCV valve
- Disconnection or cracks in EVAP purge hose, stuck open EVAP canister purge volume control solenoid valve
- Malfunctioning seal in rocker cover gasket
- Disconnection, looseness, or cracks in hoses, such as a vacuum hose, connecting to intake air system parts
- Malfunctioning seal in intake air system, etc.
- GO TO 30.
29.CHECK "A/F ALPHA-B1", "A/F ALPHA-B2", AND "B/FUEL SCHDL"
Select "A/F ALPHA-B1", "A/F ALPHA-B2", and "B/FUEL SCHDL" in "SPEC" of "DATA MONITOR" mode, and check that each indication is within the SP value.
OK or NG
OK - INSPECTION END
NG - Detect malfunctioning part according to Symptom Related Diagnostic Procedures.
30.CHECK "B/FUEL SCHDL"
Select "B/FUEL SCHDL" in "SPEC" of "DATA MONITOR" mode, and then check that the indication is within the SP value.
OK or NG
OK - INSPECTION END
NG - Detect malfunctioning part according to Symptom Related Diagnostic Procedures.