Curiosii for ever!
: Car repair manuals for everyone.
Home
>>
Infiniti
>>
2010
>>
M45 V8-4.5L (VK45DE)
>>
Repair and Diagnosis
>>
Powertrain Management
>>
Computers and Control Systems
>>
Accelerator Pedal Position Sensor
>>
Service and Repair
>>
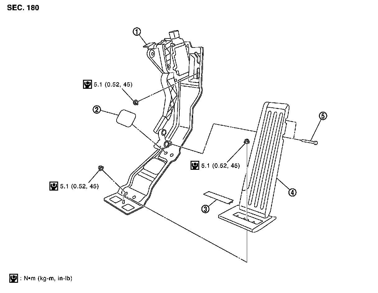
Component
Component
ACCELERATOR CONTROL SYSTEM
Component