Curiosii for ever!
: Car repair manuals for everyone.
Home
>>
Infiniti
>>
2010
>>
G37 Convertible V6-3.7L (VQ37VHR)
>>
Repair and Diagnosis
>>
Relays and Modules
>>
Relays and Modules - Restraints and Safety Systems
>>
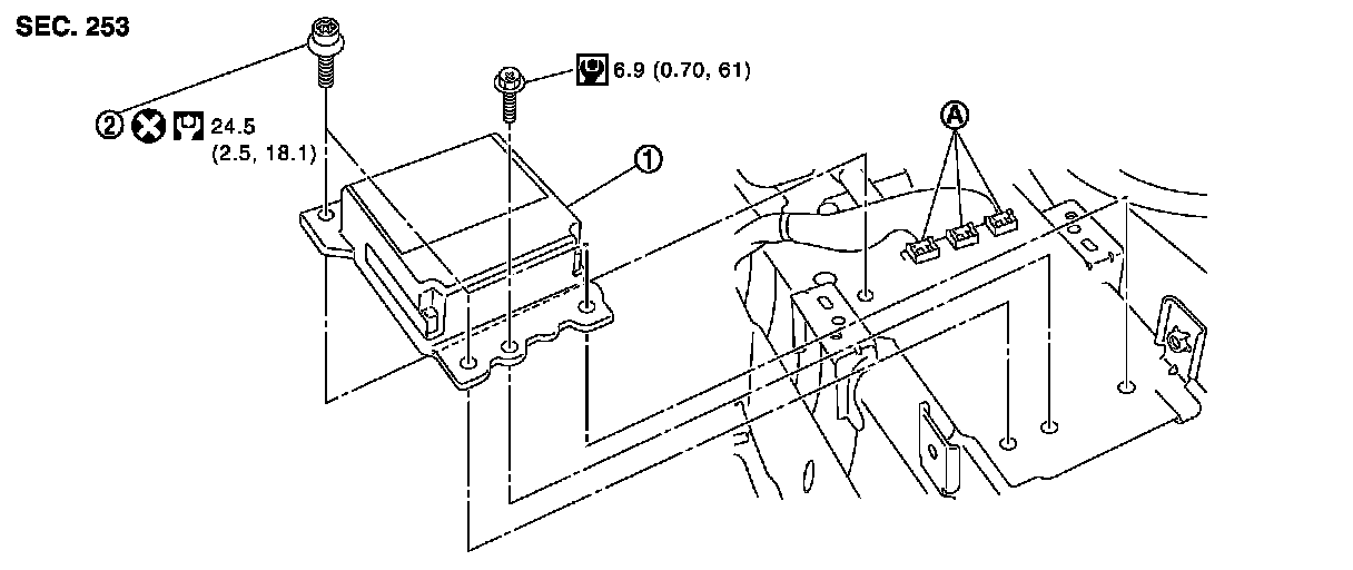
Air Bag Control Module
>>
Service and Repair
>>
Exploded View
Exploded View
DIAGNOSIS SENSOR UNIT
Exploded View