Curiosii for ever!
: Car repair manuals for everyone.
Home
>>
Infiniti
>>
2010
>>
G37 Convertible V6-3.7L (VQ37VHR)
>>
Repair and Diagnosis
>>
Body and Frame
>>
Seats
>>
Memory Positioning Systems
>>
Description and Operation
>>
Manual Function
>>
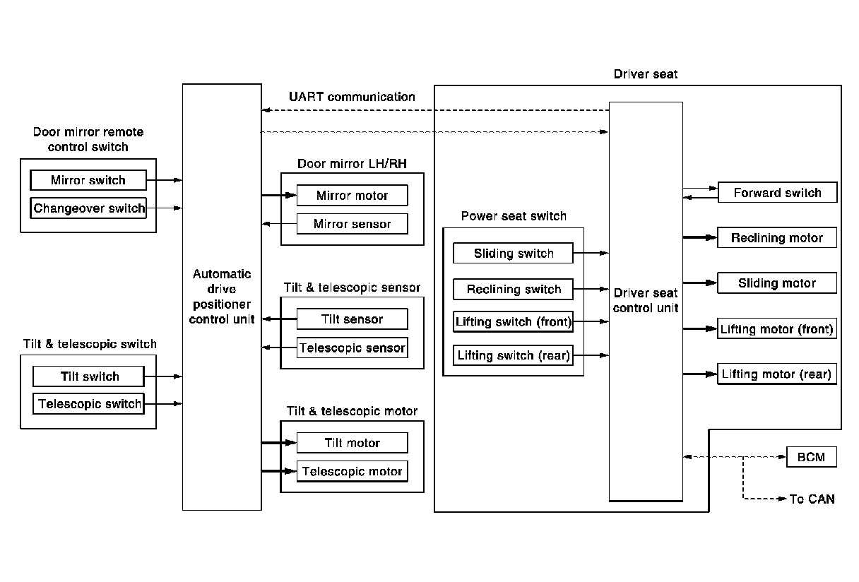
System Diagram
System Diagram
AUTOMATIC DRIVE POSITIONER SYSTEM
MANUAL FUNCTION : System Diagram