Curiosii for ever!: Car repair manuals for everyone.

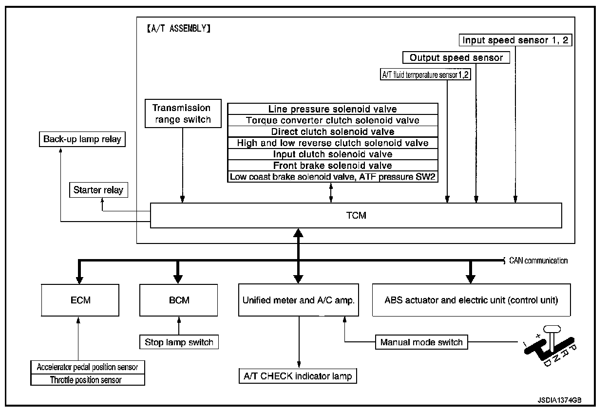
TCM Function





A/T CONTROL SYSTEM


TCM Function

The function of the TCM is to:
- Receive input signals sent from various switches and sensors.
- Determine required line pressure, shifting point, lock-up operation, and engine brake operation.
- Send required output signals to the respective solenoids.

CONTROL SYSTEM OUTLINE
The A/T senses vehicle operating conditions through various sensors or signals. It always controls the optimum shift position and reduces shifting and lock-up shocks.






CONTROL SYSTEM DIAGRAM