Curiosii for ever!
: Car repair manuals for everyone.
Home
>>
Infiniti
>>
2009
>>
G37 Sedan V6-3.7L (VQ37VHR)
>>
Repair and Diagnosis
>>
Body and Frame
>>
Seats
>>
Memory Positioning Systems
>>
Testing and Inspection
>>
Pinout Values and Diagnostic Parameters
>>
Reference Value
>>
BCM (Body Control Module)
BCM (Body Control Module)
BCM (BODY CONTROL MODULE)
Reference Value
VALUES ON THE DIAGNOSIS TOOL
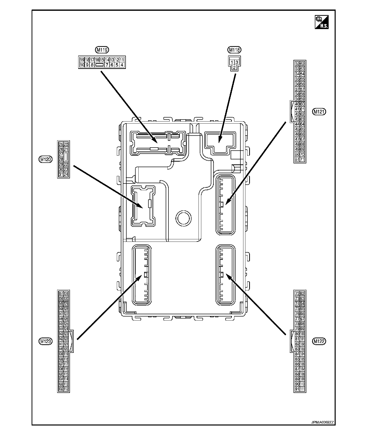
TERMINAL LAYOUT
PHYSICAL VALUES