Curiosii for ever!: Car repair manuals for everyone.

Distance Sensor: Adjustments

LASER BEAM AIMING ADJUSTMENT

Outline
Adjust the laser beam aiming every time the ICC sensor integrated unit is removed or installed.

CAUTION:
- Adjust laser beam aiming at a horizontal place as far as 12 m (39 ft) forward the vehicle can be seen.
- Adjust laser beam aiming 5 seconds after starting engine.
- Never view ICC sensor integrated unit body window directly during laser beam aiming adjustment.
- Follow the CONSULT-III when adjusting the laser beam aiming (laser beam aiming adjustment cannot be operated without CONSULT-III).
- Never ride on vehicle during laser beam aiming adjustment.
- Idle and turn headlamps OFF during laser beam aiming adjustment.


Preparation
- Adjust the tire pressure to the specified value.
- See that there is no load in the vehicle.
- Fill up the fuel tank full, and check coolant and engine oil are filled up to correct level.
- Shift the selector lever to the "P" position and release the parking brake.




- Clean the ICC sensor integrated unit body window with a soft cloth.

Outline of Adjustment Procedure
1. Set up the ICC target board [KV99110100 (J-45718)].
2. Adjust the sensor following the procedure on CONSULT-III. (Turn manually the screw for up-down position adjustment. ICC sensor integrated unit automatically adjust the right-left position.)

Setting the ICC Target Board
Accurate ICC target board setting is required for the laser beam aiming adjustment.

CAUTION: ICC system does not function normally if laser beam aiming is not accurate.

ADJUSTING HEIGHT OF THE TARGET




1. Attach a triangle scale (2) at a position 28 mm (1.10 in) (H) below the center (A) of the ICC target board (1).




2. Adjust the height of the ICC target board aligning the upside tip of the triangle scale (1) with the center of laser beam axis (A).

NOTE:




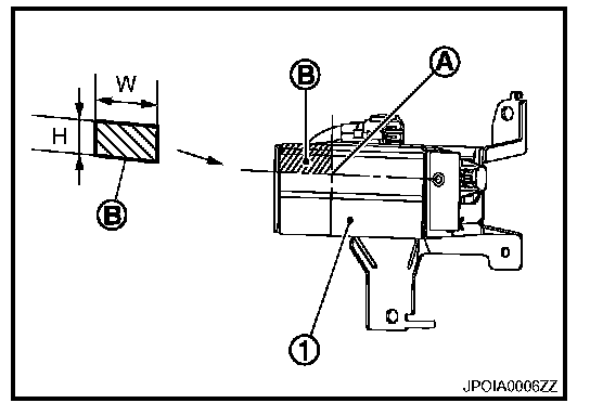
- The center of laser beam axis (A) is located at 38 mm (1.5 in) (W) from the left side and 22 mm (0.87 in) (H) from the top of the ICC sensor integrated unit from a front view of vehicle.




- To identify the center of laser beam axis (A) easily, prepare a piece of paper (B) cut to the size of 38 mm (1.5 in) (W) X 22 mm (0.87 in) (H) and attach it on the upper left point of the ICC sensor integrated unit (1).

ADJUSTING THE RIGHT-LEFT POSITION OF THE TARGET




1. Attach a ruler (1) or equivalent tool with a length of 350 mm (14 in) or more to the back face of the ICC target board center (A) in the leftward direction.




2. Suspend a thread with weight (1) at the point (B) rightward from the ICC target board center (A).

SETTING THE TARGET
1. Suspend a thread with weight on tip from the center of the front and rear bumpers. Then, mark the center point on the ground as each weight points.
2. Link the front and rear bumpers center points marked on the ground and extend a straight line ahead. Then mark a point 3.9 m (12.8 ft) position ahead of the front bumper. Then, adjust the position of the ICC target board so that the weight come on the top of the marked point [3.9 m (12.8 ft) ahead of the front bumper] and face to the vehicle.




3. Adjust the position of the ICC target board (1) so that the extended line (A) that links the center of the rear window glass (the center of the rear window defogger pattern) (B) and the center of the windshield (the setting part of the room mirror) (C) align with the weight suspended (2) from the ICC target board.

4. Remove the thread suspended to the right side of ICC target board and suspend a thread with weight on tip on the center of the target board. Then mark the point of weight on the ground.




5. Pivot the edge of the target board 25 °(a) to either side.

Check that the ICC target board (1) is located as shown in the figure.






6. Do not place anything in the space shown in the figure (view from top).






Aiming Adjustment

CAUTION: Perform all necessary work for laser beam adjustment until the adjustment completes as shown in the procedure. If the procedure does not complete, the ICC system is inoperable.

1. Connect CONSULT-III and select "Work Support" of "ICC".
2. Select "LASER BEAM ADJUST".
3. Touch "Start".

CAUTION: If the adjustment screen does not appear on the CONSULT-III screen in 10 seconds, after touching "LASER BEAM ADJUST" screen, the following causes may be considered:
- ICC target is not set accurately.
- There is not enough space beside the ICC target.
- The laser beam aiming adjustment exceeds its proper installation range.
- Deformation of vehicle body.
- Deformation of unit.
- Deformation of bracket.
- The area is not suitable for the adjustment work.
- ICC sensor integrated unit is not clean.
- The ICC system warning lamp illuminates.


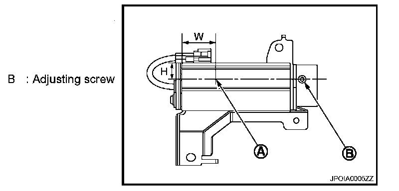
4. After the CONSULT-III displays "ADJUST THE VERTICAL OF LASER BEAM AIMING" turn the up-down direction adjusting screw until "U/D CORRECT" value is set in the range of ±4.

CAUTION: Turn the screw slowly. The value change on display is slower than actual movement of the ICC sensor integrated unit. Wait for 2 seconds every time the screw is turned half a rotation.




NOTE: Turning the screw (A) clockwise directs the laser beam downward (B). The laser beam directs upward (C) when turning screw counterclockwise.

5. When "U/D CORRECT" value indicates ±4, confirm that the margin of value remains within ±4 at least for 2 seconds with no equipment or hand touching the ICC sensor integrated unit.
When "COMPLETED THE VERTICAL AIMING OF LASER BEAM" appears on screen, touch "END".

CAUTION: Be sure that the margin of "U/D CORRECT" is within ±4 after leaving with ICC sensor integrated unit for 2 seconds or more.

6. Confirm that "ADJUSTING AUTOMATIC HORIZONTAL LASER BEAM AIMING" is on screen and wait for a while (maximum: 10 seconds).
7. Confirm that "Normally Completed" is displayed on CONSULT-III and close the aiming adjustment procedure by touching "End".

CAUTION: Perform all the procedures once "LASER BEAM ADJUST" mode is entered in CONSULT-III. When the procedure is discontinued, the ICC system is inoperable.

CHECK AFTER THE ADJUSTMENT
Test the ICC system operation by ICC system running test. Refer to ACS-14, "ICC System Running Test". Action Test