Curiosii for ever!: Car repair manuals for everyone.

Service Limits & General Specifications

CRANKSHAFT END PLAY





^ Measure the clearance between thrust bearings and crankshaft arm when crankshaft is moved fully forward or backward with dial indicator.
Standard: 0.10 - 0.25 mm (0.0039 - 0.0098 in)
Limit: 0.30 mm (0.012 in)
^ If the measured value exceeds the limit, replace thrust bearings, and measure again. If it still exceeds the limit, replace crankshaft also.

CONNECTING ROD SIDE CLEARANCE





^ Measure the side clearance between connecting rod and crankshaft arm with feeler gauge.
Standard: 0.20 - 0.35 mm (0.0079 - 0.0138 in)
Limit: 0.40 mm (0.016 in)
^ If the measured value exceeds the limit, replace connecting rod, and measure again. If it still exceeds the limit, replace crankshaft also.

PISTON TO PISTON PIN OIL CLEARANCE
Piston Pin Hole Diameter





Measure the inner diameter of piston pin hole with inside micrometer.
Standard: 21.993 - 22.005 mm (0.8659 - 0.8663 in)

Piston Pin Outer Diameter





Measure the outer diameter of piston pin with micrometer.
Standard: 21.989 - 22.001 mm (0.8657 - 0.8662 in)

Piston to Piston Pin Oil Clearance
(Piston to piston pin oil clearance) = (Piston pin hole diameter) - (Piston pin outer diameter)
Standard: 0.002 - 0.006 mm (0.0001 - 0.0002 in)
^ If the calculated value is out of the standard, replace piston and piston pin assembly.
^ When replacing piston and piston pin assembly, refer to EM-259, "HOW TO SELECT PISTON". How to Select Piston and Bearing

NOTE:
^ Piston is available together with piston pin as assembly.
^ Piston pin (piston pin hole) grade is provided only for the parts installed at the plant. For service parts, no piston pin grades can be selected. (Only "0" grade is available.)

PISTON RING SIDE CLEARANCE





^ Measure the side clearance of piston ring and piston ring groove with feeler gauge.
Standard:
Top ring: 0.045 - 0.080 mm (0.0018 - 0.0031 in)
2nd ring: 0.030 - 0.070 mm (0.0012 - 0.0028 in)
Oil ring: 0.065 - 0.135 mm (0.0026 - 0.0053 in)
Limit:
Top ring: 0.11 mm (0.0043 in)
2nd ring: 0.10 mm (0.004 in)
^ If the measured value exceeds the limit, replace piston ring, and measure again. If it still exceeds the limit, replace piston also.

PISTON RING END GAP





^ Make sure that the cylinder bore inner diameter is within the specification.
^ Lubricate with new engine oil to piston and piston ring, and then insert piston ring until middle of cylinder with piston, and measure the piston ring end gap with feeler gauge.
Standard:
Top ring: 0.22 - 0.32 mm (0.0087 - 0.0126 in)
2nd ring: 0.22 - 0.32 mm (0.0087 - 0.0126 in)
Oil ring: 0.20 - 0.50 mm (0.008 - 0.020 in)
Limit:
Top ring: 0.56 mm (0.0220 in)
2nd ring: 0.56 mm (0.0220 in)
Oil ring: 0.96 mm (0.0378 in)
^ If the measured value exceeds the limit, replace piston ring, and measure again. If it still exceeds the limit, re-bore cylinder and use oversize piston and piston rings.

CONNECTING ROD BEND AND TORSION





^ Check with connecting rod aligner.
Bend:
Limit: 0.15 mm (0.0059 in) per 100 mm (3.94 in) length
Torsion:
Limit: 0.30 mm (0.012 in) per 100 mm (3.94 in) length
^ If it exceeds the limit, replace connecting rod assembly.

CONNECTING ROD BIG END DIAMETER





^ Install connecting rod bearing cap without installing connecting rod bearing, and tightening connecting rod bolts to the specified torque.
^ Measure the inner diameter of connecting rod big end with inside micrometer.
Standard: 55.000 - 55.013 mm (2.1654 - 2.1659 in)
^ If out of the standard, replace connecting rod assembly.

CONNECTING ROD BUSHING OIL CLEARANCE
Connecting Rod Bushing Inner Diameter





Measure the inner diameter of connecting rod bushing with inside micrometer.
Standard: 22.000 - 22.012 mm (0.8661 - 0.8666 in)

Piston Pin Outer Diameter





Measure the outer diameter of piston pin with micrometer.
Standard: 21.989 - 22.001 mm (0.8657 - 0.8662 in)

Connecting Rod Bushing Oil Clearance
(Connecting rod bushing oil clearance) = (Connecting rod bushing inner diameter) - (Piston pin outer diameter)
Standard: 0.005 - 0.017 mm (0.0002 - 0.0007 in)
Limit: 0.030 mm (0.0012 in)
^ If the calculated value exceeds the limit, replace connecting rod assembly and/or piston and piston pin assembly.





^ If replacing piston and piston pin assembly, refer to EM-259, "HOW TO SELECT PISTON". How to Select Piston and Bearing
^ If replacing connecting rod assembly, refer to "CONNECTING ROD BEARING OIL CLEARANCE" to select the connecting rod bearing.

Factory installed parts grading:








^ Service parts apply only to grade "0".

CYLINDER BLOCK DISTORTION
^ Using scraper, remove gasket on the cylinder block surface, and also remove engine oil, scale, carbon, or other contamination.

CAUTION: Be careful not to allow gasket flakes to enter engine oil or engine coolant passages.





^ Measure the distortion on the cylinder block upper face at some different points in six directions with straightedge and feeler gauge.
Limit: 0.1 mm (0.004 in)
^ If it exceeds the limit, replace cylinder block.

MAIN BEARING HOUSING INNER DIAMETER





^ Install main bearing caps and main bearing without installing main bearings, and tighten main bearing cap bolts to the specified torque.
^ Measure the inner diameter of main bearing housing with bore gauge.
Standard: 68.944 - 68.968 mm (2.7143 - 2.7153 in)
^ If out of the standard, replace cylinder block and main bearing caps as assembly.

NOTE: Cylinder block cannot be replaced as a single part, because it is machined together with main bearing caps.

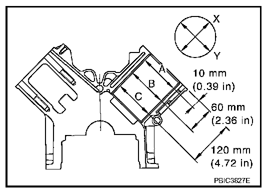
PISTON TO CYLINDER BORE CLEARANCE
Cylinder Bore Inner Diameter





^ Using bore gauge, measure cylinder bore for wear, out-of-round and taper at six different points on each cylinder. ("X" and "Y" directions at "A", "B" and "C") ("X" is in longitudinal direction of engine)
Standard inner diameter: 93.000 - 93.030 mm (3.6614 - 3.6626 in)
Wear limit: 0.2 mm (0.008 in)
Out-of-round (Difference between "X" and "Y".: 0.015 mm (0.0006 in)
Taper limit (Difference between "A" and "C".: 0.01 mm (0.0004 in)





^ If the measured value exceeds the limit, or if there are scratches and/or seizure on the cylinder inner wall, hone or re-bore the inner wall.
^ Oversize piston is provided. When using oversize piston, rebore cylinder so that the clearance of the piston-to-cylinder bore satisfies the standard.

CAUTION: When using oversize piston, use oversize pistons for all cylinders with oversize piston rings.

Oversize (OS): 0.2 mm (0.008 in)

Piston Skirt Diameter





^ Measure the outer diameter of piston skirt with micrometer.
Standard: 92.980 - 93.010 mm (3.6606 - 3.6618 in)





^ Measure point "H" (Distance from the top): 42 mm (1.65 in)

Piston to Cylinder Bore Clearance
Calculate by piston skirt diameter and cylinder bore inner diameter (direction "Y", position "B"). (Clearance) = (Cylinder bore inner diameter) - (Piston skirt diameter).
Standard: 0.010 - 0.030 mm (0.0004 - 0.0012 in)
Limit: 0.08 mm (0.0031 in)
^ If the calculated value exceeds the limit, replace piston and piston pin assembly.

Re-boring Cylinder Bore
1. Cylinder bore size is determined by adding piston to cylinder bore clearance to piston skirt diameter.
Re-bored size calculation: D = A + B - C where,
D: Bored diameter
A: Piston skirt diameter as measured
B: Piston to cylinder bore clearance (standard value)
C: Honing allowance 0.02 mm (0.0008 in)
2. Install main bearing caps and main bearing, and tighten to the specified torque. Otherwise, cylinder bores may be distorted in final assembly.
3. Cut cylinder bores.

NOTE:
^ When any cylinder needs boring, all other cylinders must also be bored.
^ Do not cut too much out of cylinder bore at a time. Cut only 0.05 mm (0.0020 in) or so in diameter at a time.

4. Hone cylinders to obtain the specified piston to cylinder bore clearance.
5. Measure finished cylinder bore for the out-of-round and taper.

NOTE: Measurement should be done after cylinder bore cools down.

CONNECTING ROD BEARING OIL CLEARANCE
Method by Calculation





^ Install connecting rod bearings to connecting rod and cap, and tighten connecting rod bolts to the specified torque.
^ Measure the inner diameter of connecting rod bearing with inside micrometer.

(Bearing oil clearance) = (Connecting rod bearing inner diameter) - (Crankshaft pin journal diameter)
Standard: 0.020 - 0.045 mm (0.0008 - 0.0018 in) (actual clearance)
Limit: 0.055 mm (0.0022 in)
^ If the calculated value exceeds the limit, select proper connecting rod bearing according to connecting rod big end diameter and crankshaft pin journal diameter to obtain the specified bearing oil clearance.

Method of Using Plastigage
^ Remove oil and dust on crankshaft pin journal and the surfaces of each bearing completely.
^ Cut plastigage slightly shorter than the bearing width, and place it in crankshaft axial direction, avoiding oil holes.
^ Install connecting rod bearings to connecting rod and cap, and tighten connecting rod bolts to the specified torque.

CAUTION: Do not rotate crankshaft.





^ Remove connecting rod bearing cap and bearing, and using scale on plastigage bag, measure the plastigage width.

NOTE: The procedure when the measured value exceeds the limit is same as that described in the "Method by Calculation".

MAIN BEARING OIL CLEARANCE
Method by Calculation





^ Install main bearings to cylinder block and main bearing caps, and tighten main bearing cap bolts with main bearing to the specified torque.
^ Measure the inner diameter of main bearing with bore gauge.

(Bearing clearance) = (Main bearing inner diameter) - (Crankshaft main journal diameter)
Standard
No. 1 and 5 journal: 0.001 - 0.011 mm (0.00004 - 0.0004 in)
No. 2, 3 and 4 journal: 0.007 - 0.017 mm (0.0003 - 0.0007 in)
Limit
No. 1 and 5 journal: 0.021 mm (0.0008 in)
No. 2, 3 and 4 journal: 0.027 mm (0.0011 in)
^ If the calculated value exceeds the limit, select proper main bearing according to main bearing inner diameter and crankshaft main journal diameter to obtain the specified bearing oil clearance.

Method of Using Plastigage
^ Remove oil and dust on crankshaft main journal and the surfaces of each bearing completely.
^ Cut plastigage slightly shorter than the bearing width, and place it in crankshaft axial direction, avoiding oil holes.
^ Install main bearings to cylinder block and main bearing caps, and tighten main bearing bolts with main bearing to the specified torque.

CAUTION: Do not rotate crankshaft.





^ Remove main bearing caps and bearings, and using scale on plastigage bag, measure the plastigage width.

NOTE: The procedure when the measured value exceeds the limit is same as that described in the "Method by Calculation".

CRUSH HEIGHT OF MAIN BEARING





^ When main bearing cap is removed after being tightened to the specified torque with main bearings installed, the tip end of bearing must protrude.
Standard: There must be crush height.
^ If the standard is not met, replace main bearings.

CRUSH HEIGHT OF CONNECTING ROD BEARING





^ When connecting rod bearing cap is removed after being tightened to the specified torque with connecting rod bearings installed, the tip end of bearing must protrude.
Standard: There must be crush height.
^ If the standard is not met, replace connecting rod bearings.





CYLINDER BLOCK