Curiosii for ever!: Car repair manuals for everyone.

Service Limits & General Specifications

CRANKSHAFT END PLAY





^ Using a dial indicator, measure the clearance between the thrust bearings and the crankshaft arm when crankshaft is moved fully forward or backward.
Standard 0.10 - 0.25 mm (0.0039 - 0.0098 inch)
Limit 0.30 mm (0.0118 inch)
^ If the measured value exceeds the limit, replace the thrust bearings, and measure again. If it still exceeds the limit, replace crankshaft also.

CONNECTING ROD SIDE CLEARANCE





^ Measure the side clearance between connecting rod and crankshaft arm with a feeler gauge.
Standard 0.20 - 0.35 mm (0.0079 - 0.0138 inch)
Limit 0.40 mm (0.0157 inch)
^ If the measured value exceeds the limit, replace connecting rod, and measure again. If it still exceeds the limit, replace crankshaft also.

PISTON TO PISTON PIN CLEARANCE
Piston Pin Hole Diameter





Measure the inner diameter of piston pin hole with an inside micrometer.
Standard 21.993 - 22.005 mm (0.8659 - 0.8663 inch)

Piston Pin Outer Diameter





Measure the outer diameter of piston pin with a micrometer.
Standard 21.989 - 22.001 mm (0.8657 - 0.8662 inch)

Piston To Piston Pin Clearance





(Piston to piston pin clearance) = (Piston pin hole diameter) - (Piston pin outer diameter)
Standard 0.002 - 0.006 mm (0.0001 - 0.0002 inch)
^ If out of the standard, replace piston/piston pin assembly.
^ Refer to piston selection table to replace piston/piston pin assembly. Refer to "HOW TO SELECT PISTON".

NOTE:
^ Piston is available together with piston pin as assembly.
^ Piston pin (piston pin hole) grade is provided only for the parts installed at the plant. For service parts, no grades can be selected. (Only "0" grade is available.)

PISTON RING SIDE CLEARANCE





^ Measure the side clearance of piston ring and piston ring groove with a feeler gauge.
Standard:
Top ring 0.045 - 0.080 mm (0.0018 - 0.0031 inch)
2nd ring 0.030 - 0.070 mm (0.0012 - 0.0028 inch)
Oil ring 0.065 - 0.135 mm (0.0026 - 0.0053 inch)
Limit:
Top ring 0.11 mm (0.0043 inch)
2nd ring 0.10 mm (0.0039 inch)
^ If the measured value exceeds the limit, replace piston ring, and measure again. If it still exceeds the limit, replace piston.

PISTON RING END GAP





^ Check if the inner diameter of cylinder bore is within the specification. Refer to "Piston to Cylinder Bore Clearance".
^ Lubricate with new engine oil to piston and piston ring, and then insert piston ring until middle of cylinder with piston, and measure piston ring end gap with a feeler gauge.
Standard:
Top ring 0.22 - 0.32 mm (0.0087 - 0.0126 inch)
2nd ring 0.22 - 0.32 mm (0.0087 - 0.0126 inch)
Oil ring 0.20 - 0.50 mm (0.0079 - 0.0197 inch)
Limit:
Top ring 0.56 mm (0.0220 inch)
2nd ring 0.56 mm (0.0220 inch)
Oil ring 0.86 mm (0.0339 inch)
If the measured value exceeds the limit, replace piston ring, and measure again. If it still exceeds the limit, re-bore cylinder and use oversize piston and piston rings.

CONNECTING ROD BEND AND TORSION





^ Check with connecting rod aligner.
Bend:
Limit 0.15 mm (0.0059 inch) per 100 mm (3.94 inch) length
Torsion:
Limit 0.30 mm (0.0118 inch) per 100 mm (3.94 inch) length
^ If it exceeds the limit, replace connecting rod assembly.

CONNECTING ROD BIG END DIAMETER





^ Install connecting rod bearing cap without installing connecting rod bearing, and tighten connecting rod bolts to the specified torque. Refer to "ASSEMBLY" for the tightening procedure.
^ Measure the inner diameter of connecting rod big end with an inside micrometer.
Standard 55.000 - 55.013 mm (2.1654 - 2.1659 inch)
^ If out of the standard, replace connecting rod assembly.

CONNECTING ROD BUSHING OIL CLEARANCE
Connecting Rod Bushing Inner Diameter





Measure the inner diameter of connecting rod bushing with an inside micrometer.
Standard 22.000 - 22.012 mm (0.8661 - 0.8666 inch)

Piston Pin Outer Diameter





Measure the outer diameter of piston pin with a micrometer.
Standard 21.989 - 22.001 mm (0.8657 - 0.8662 inch)

Connecting Rod Bushing Oil Clearance
(Connecting rod bushing oil clearance) = (Connecting rod bushing inner diameter) - (Piston pin outer diameter)
Standard 0.005 - 0.017 mm (0.0002 - 0.0007 inch)
Limit 0.030 mm (0.0012 inch)
^ If the calculated value exceeds the limit, replace connecting rod assembly and/or piston and piston pin assembly.
^ If replacing piston and piston pin assembly, refer to "HOW TO SELECT PISTON".





^ If replacing connecting rod assembly, refer to "CONNECTING ROD BEARING OIL CLEARANCE" to select the connecting rod bearing.

Factory installed parts grading:








^ Service parts apply only to grade "0".

CYLINDER BLOCK DISTORTION
^ Using a scraper, remove gasket on the cylinder block surface, and also remove engine oil, scale, carbon, or other contamination.

CAUTION: Be careful not to allow gasket flakes to enter the engine oil or engine coolant passages.





^ Measure the distortion on the cylinder block upper face at some different points in six directions with a straightedge and a feeler gauge.
Limit 0.1 mm (0.004 inch)
^ If it exceeds the limit, replace cylinder block.

MAIN BEARING HOUSING INNER DIAMETER





^ Install main bearing caps without installing main bearings, and tighten main bearing cap bolts to the specified torque. Refer to "ASSEMBLY" for the tightening procedure.
^ Using a bore gauge, measure the inner diameter of the main bearing housing.
Standard 68.944 - 68.968 mm (2.7143 - 2.7153 inch)
^ If out of the standard, replace cylinder block and main bearing caps as an assembly.

NOTE: These components cannot be replaced as a single unit, because they were processed together.

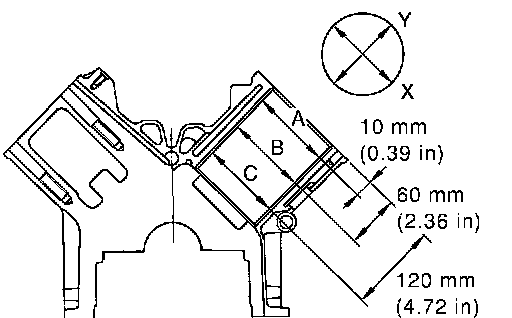
PISTON TO CYLINDER BORE CLEARANCE
Cylinder Bore Inner Diameter





^ Using a bore gauge, measure the cylinder bore diameter for wear, out-of-round and taper at six different points on each cylinder. ("X" and "Y" directions at "A", "B" and "C")

NOTE: When determining cylinder bore grade, measure the cylinder bore at B position.





Standard inner diameter 93.000 - 93.030 mm (3.6614 - 3.6626 inch)
Wear limit 0.20 mm (0.0079 inch)
Out-of-round limit (Difference between "X" and "Y") 0.015 mm (0.0006 inch)
Taper limit (Difference between "A" and "C") 0.010 mm (0.0004 inch)
^ If the measured value exceeds the limit, or if there are scratches and/or seizure on the cylinder inner wall, hone or bore the inner wall.
^ Oversize piston is provided. When using oversize piston, hone cylinder so that the clearance between piston and cylinder satisfies the standard.
Oversize (OS) 0.2 mm (0.008 inch)

CAUTION: If oversize piston is used, use it for all cylinders with oversize piston rings.

Piston Skirt Diameter





^ Measure outer diameter of piston skirt with a micrometer.
Standard 92.980 - 93.010 mm (3.6606 - 3.6618 inch)





^ Measure point "H" (Distance from the top) 42 mm (1.65 inch)

Piston to Cylinder Bore Clearance
^ Calculate by piston skirt diameter and cylinder bore inner diameter (direction "X", position "B").
(Clearance) = (Cylinder bore inner diameter) - (Piston skirt diameter)
Standard 0.010 - 0.030 mm (0.0004 - 0.0012 inch)
Limit 0.08 mm (0.0031 inch)
^ If it exceeds the limit, replace piston/piston pin assembly. Refer to "HOW TO SELECT PISTON".

Re-boring Cylinder Bore
1. Cylinder bore size is determined by adding piston to cylinder bore clearance to piston skirt diameter.
Rebored size calculation: D = A + B - C where,
D: Bored diameter
A: Piston skirt diameter as measured
B: Piston to bore clearance (standard value)
C: Honing allowance 0.02 mm (0.0008 inch)
2. Install main bearing caps, and tighten to the specified torque. Otherwise, cylinder bores may be distorted in final assembly. Refer to "ASSEMBLY".
3. Cut the cylinder bores.

NOTE:
^ When any cylinder needs boring, all other cylinders must also be bored.
^ Do not cut too much out of the cylinder bore at a time. Cut only 0.05 mm (0.0020 inch) or so in diameter at a time.

4. Hone cylinders to obtain the specified piston to cylinder bore clearance.
5. Measure finished the cylinder bore for out-of-round and taper.

NOTE: Measurement should be done after the cylinder bore cools down.

CRANKSHAFT MAIN JOURNAL DIAMETER
^ Measure the outer diameter of crankshaft main journal with a micrometer.
Standard 63.940 - 63.964 mm (2.5173 - 2.5183 inch)
^ If out of the standard, measure the main bearing oil clearance. Then use the undersize bearing. Refer to "CONNECTING ROD BEARING OIL CLEARANCE".

CRANKSHAFT PIN JOURNAL DIAMETER





^ Measure the outer diameter of crankshaft pin journal with a micrometer.
Standard 51.956 - 51.974 mm (2.0455 - 2.0462 inch)
^ If out of the standard, measure the connecting rod bearing oil clearance. Then use the undersize bearing. Refer to "CONNECTING ROD BEARING OIL CLEARANCE".

CRANKSHAFT OUT-OF-ROUND AND TAPER





^ Using a micrometer, measure the dimensions at four different points shown in the figure on each main journal and pin journal.
^ Out-of-round is indicated by the difference in the dimensions between "X" and "Y" at "A" and "B".
^ Taper is indicated by the difference in the dimensions between "A" and "B" at "X" and "Y".
Limit:
Out-of-round (Difference between "X" and "Y") 0.015 mm (0.0006 inch)
Taper (Difference between "A" and "B") 0.010 mm (0.0004 inch)
^ If the measured value exceeds the limit, correct or replace crankshaft.
^ If corrected, measure the bearing oil clearance of the corrected main journal and/or pin journal. Then select main bearing and/or connecting rod bearing. Refer to "CONNECTING ROD BEARING OIL CLEARANCE" and/or "CONNECTING ROD BEARING OIL CLEARANCE".

CRANKSHAFT RUNOUT





^ Place a V-block on a precise flat table to support the journals on the both end of crankshaft.
^ Place a dial indicator straight up on the No. 3 journal.
^ While rotating crankshaft, read the movement of the pointer on a dial indicator. (total indicator reading)
Limit 0.10 mm (0.0039 inch)
^ If it exceeds the limit, replace crankshaft.

CONNECTING ROD BEARING OIL CLEARANCE
Method by Calculation





^ Install connecting rod bearings to connecting rod and cap, and tighten connecting rod nuts to the specified torque. Refer to "ASSEMBLY" for the tightening procedure.
^ Measure the inner diameter of connecting rod bearing with an inside micrometer.
(Bearing oil clearance) = (Connecting rod bearing inner diameter) -(Crankshaft pin journal diameter)
Standard 0.020 - 0.045 mm (0.0008 - 0.0018 inch)
Limit 0.055 mm (0.0022 inch)
^ If the calculated value exceeds the limit, select proper connecting rod bearing according to connecting rod bin end diameter and crankshaft pin journal diameter to obtain the specified bearing oil clearance. Refer to "HOW TO SELECT CONNECTING ROD BEARING".

Method of Using Plastigage
^ Remove oil and dust on crankshaft pin journal and the surfaces of each bearing completely.
^ Cut plastigage slightly shorter than the bearing width, and place it in crankshaft axial direction, avoiding oil holes.
^ Install connecting rod bearings to connecting rod and cap, and tighten connecting rod nuts to the specified torque. Refer to "ASSEMBLY" for the tightening procedure.

CAUTION: Do not rotate crankshaft.





^ Remove connecting rod bearing cap and bearing, and using scale on plastigage bag, measure the plastigage width.

NOTE: The procedure when the measured value exceeds the limit is same as that described in the "Method by Calculation".

MAIN BEARING OIL CLEARANCE
Method by Calculation





^ Install main bearings to cylinder block and main bearing caps, and tighten main bearing cap bolts to the specified torque. Refer to "ASSEMBLY" for the tightening procedure.
^ Measure the inner diameter of main bearing with a bore gauge.
(Bearing clearance) = (Main bearing inner diameter) - (Crankshaft main journal diameter)
Standard
No. 1 and 5 journal 0.001 - 0.011 mm (0.00004 - 0.0004 inch)
No. 2, 3 and 4 journal 0.007 - 0.017 mm (0.0003 - 0.0007 inch)
Limit
No. 1 and 5 journal 0.021 mm (0.0008 inch)
No. 2, 3 and 4 journal 0.027 mm (0.0011 inch)
^ If the calculated value exceeds the limit, select proper main bearing according to main bearing inner diameter and crankshaft main journal diameter to obtain the specified bearing oil clearance. Refer to "HOW TO SELECT MAIN BEARING".

Method of Using Plastigage
^ Remove oil and dust on crankshaft main journal and the surfaces of each bearing completely.
^ Cut plastigage slightly shorter than the bearing width, and place it in crankshaft axial direction, avoiding oil holes.
^ Install main bearings to cylinder block and main bearing caps, and tighten main bearing bolts to the specified torque. Refer to "ASSEMBLY" for the tightening procedure.

CAUTION: Do not rotate crankshaft.





^ Remove main bearing caps and bearings, and using scale on plastigage bag, measure the plastigage width.

NOTE: The procedure when the measured value exceeds the limit is same as that described in the "Method by Calculation".

CRUSH HEIGHT OF MAIN BEARING





^ When main bearing cap is removed after being tightened to the specified torque with main bearings installed, the tip end of bearing must protrude. Refer to "ASSEMBLY" for the tightening procedure.
Standard: There must be crush height.
^ If out of the standard, replace main bearings.

CRUSH HEIGHT OF CONNECTING ROD BEARING





^ When connecting rod bearing cap is removed after being tightened to the specified torque with connecting rod bearings installed, the tip end of bearing must protrude. Refer to "ASSEMBLY" for the tightening procedure.
Standard: There must be crush height.
^ If out of the standard, replace connecting rod bearings.





CYLINDER BLOCK