Curiosii for ever!: Car repair manuals for everyone.

Service Limits & General Specifications

CRANKSHAFT END PLAY





^ Using a dial gauge, measure the clearance between the thrust bearings and the crankshaft arm when crankshaft is moved fully forward or backward.
Standard: 0.10 - 0.25 mm (0.0039 - 0.0098 inch)
Limit: 0.30 mm (0.0118 inch)
^ If the measured value exceeds the repair limit, replace the thrust bearings, and measure again. If it still exceeds the repair limit, replace crankshaft also.

CONNECTING ROD SIDE CLEARANCE





^ Measure the side clearance between connecting rod and crankshaft arm with feeler gauge.
Standard: 0.20 - 0.35 mm (0.0079 - 0.0138 inch)
Limit: 0.40 mm (0.0157 inch)
^ If the measured value exceeds the limit, replace connecting rod, and measure again. If it still exceeds the repair limit, replace crankshaft also.

PISTON AND PISTON PIN CLEARANCE
Piston Pin Bore Diameter





Measure the inner diameter of piston pin bore with an inside micrometer.
Standard: 21.993 - 22.005 mm (0.8659 - 0.8663 inch)

Piston Pin Outer Diameter





Measure the outer diameter of piston pin with a micrometer.
Standard: 21.989 - 22.001 mm (0.8657 - 0.8662 inch)

Piston and Piston Pin Clearance





(Piston pin clearance) = (Piston pin bore diameter) - (Outer diameter of piston pin)
Standard: 0.002 - 0.006 mm (0.0001 - 0.0002 inch)
^ If the clearance exceeds the standard, replace piston/piston pin assembly
^ Refer to piston selection table to replace piston/piston pin assembly. Refer to "HOW TO SELECT PISTON".

NOTE:
^ Piston is available together with piston pin as assembly





^ Piston pin hole (piston pin) grade is provided only for the parts installed at the plant. For service parts, no grades can be selected. (Only 0 grade is available.)

PISTON RING SIDE CLEARANCE





^ Measure the side clearance of piston ring and piston ring groove with feeler gauge.
Standard:
Top ring: 0.045 - 0.080 mm (0.0018 - 0.0031 inch)
2nd ring: 0.030 - 0.070 mm (0.0012 - 0.0028 inch)
Oil ring: 0.065 - 0.135 mm (0.0026 - 0.0053 inch)
Limit:
Top ring: 0.11 mm (0.0043 inch)
2nd ring: 0.10 mm (0.0039 inch)
^ If the measured value exceeds the limit, replace piston ring, and measure again.
^ If it still exceeds the limit, replace piston.

PISTON RING END GAP





^ Check if the inner diameter of cylinder bore is within the specification. Refer to "Piston to Cylinder Bore Clearance".
^ Lubricate with new engine oil to piston and piston ring, and then insert piston ring until middle of cylinder with piston, and measure piston ring end gap with feeler gauge.
Standard:
Top ring: 0.22 - 0.32 mm (0.0087 - 0.0126 inch)
2nd ring: 0.22 - 0.32 mm (0.0087 - 0.0126 inch)
Oil ring: 0.20 - 0.60 mm (0.0079 - 0.0236 inch)
Limit:
Top ring: 0.56 mm (0.0220 inch)
2nd ring: 0.52 mm (0.0205 inch)
Oil ring: 0.96 mm (0.0378 inch)
^ If out of the limit, replace piston ring. If the gap still exceeds the limit even with a new ring, re-bore cylinder and use oversized piston and piston ring.

CONNECTING ROD BEND AND TORSION





^ Check with connecting rod aligner.
Bend:
Limit 0.15 mm (0.0059 inch) per 100 mm (3.94 inch) length
Torsion:
Limit 0.30 mm (0.0118 inch) per 100 mm (3.94 inch) length





^ If it exceeds the limit, replace connecting rod assembly.

CONNECTING ROD BIG END INNER DIAMETER





^ Install connecting rod cap without the connecting rod bearing installed. After tightening the connecting rod nut to the specified torque, measure the connecting rod large end inner diameter using an inside micrometer. Refer to "ASSEMBLY" for the tightening procedure.
Standard: 55.000 - 55.013 mm (2.1654 - 2.1659 inch)
^ If it exceeds the standard, replace the connecting rod.

CONNECTING ROD BUSHING OIL CLEARANCE
Connecting Rod Bushing Inner Diameter





Measure the inner diameter of bushing.
Standard: 22.000 - 22.012 mm (0.8661 - 0.8666 inch)

Piston Pin Outer Diameter





Measure the outer diameter of piston pin.
Standard: 21.989 - 22.001 mm (0.8657 - 0.8662 inch)

Connecting Rod Bushing Oil Clearance





(Connecting rod bushing oil clearance) = (Inner diameter of connecting rod bushing) - (Outer diameter of piston pin)
Standard: 0.005 - 0.017 mm (0.0002 - 0.007 inch)
^ If the measured value exceeds the standard, replace the connecting rod assembly and/or the piston and piston pin assembly.
^ If replacing piston and piston pin assembly, refer to "PISTON TO CYLINDER BORE CLEARANCE".
^ If replacing connecting rod assembly, refer to "OIL CLEARANCE OF CONNECTING ROD BEARING" to select the connecting rod bearing.

Factory installed parts grading:








Service parts apply only to grade 0.

CYLINDER BLOCK DISTORTION





^ Using a scraper, remove gasket on the cylinder block surface, and also remove engine oil, scale, carbon, or other contamination.

CAUTION: Be careful not to allow gasket flakes to enter the engine oil or engine coolant passages.

^ Measure the distortion on the block upper face at some different points in 6 directions.
Limit: 0.1 mm (0.004 inch)
^ If out of the limit, replace cylinder block.

INNER DIAMETER OF MAIN BEARING HOUSING





^ Install main bearing caps with main bearings removed, and tighten the mounting bolts to the specified torque. Refer to "ASSEMBLY" for the tightening procedure.
^ Using a bore gauge, measure the inner diameter of the main bearing housing.
Standard: 68.944 - 68.968 mm (2.7143 - 2.7153 inch)
^ If out of the standard, replace cylinder block and main bearing caps as an assembly.

NOTE: These components cannot be replaced as a single unit, because they were processed together.

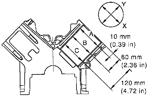
PISTON TO CYLINDER BORE CLEARANCE
Inner Diameter of Cylinder Bore





^ Using a bore gauge, measure the cylinder bore diameter for wear, out-of-round and taper at 6 different points on each cylinder. (X and Y directions at A, B and C)

NOTE: When determining cylinder bore grade, measure the cylinder bore at B position.





Standard inner diameter: 93.000 - 93.030 mm (3.6614 - 3.6626 inch)
Wear limit: 0.20 mm (0.0079 inch)
Out-of-round (Difference between X and Y): 0.015 mm (0.0006 inch)
Taper limit (Difference between A and C): 0.010 mm (0.0004 inch)
^ If the measured value exceeds the limit, or if there are scratches or seizure and/or the cylinder inner wall, hone or bore the inner wall.
^ Oversize piston is provided. When using oversize piston, hone cylinder so that the clearance between piston and cylinder satisfies the standard.
Oversize (OS): 0.2 mm (0.008 inch)

CAUTION: If oversize piston is used, use it for all cylinders with oversize piston rings.

Outer Diameter of Piston





^ Measure the piston outer diameter.
Standard: 92.980 - 93.010 mm (3.6606 - 3.6618 inch)





^ Measure point "H" (Distance from the top): 42 mm (1.65 inch)

Piston to Cylinder Bore Clearance
^ Calculate by outer diameter of piston and inner diameter of cylinder (direction X, position B) (Clearance) = (Inner diameter of cylinder) - (Outer diameter of piston)
Standard: 0.010 - 0.030 mm (0.0004 - 0.0012 inch)
Limit: 0.08 mm (0.0031 inch)
^ If it exceeds the limit, replace piston/piston pin assembly.

Reboring Cylinder Bore
1. Cylinder bore size is determined by adding piston-to-bore clearance to piston diameter "A".
Rebored size calculation: D = A + B - C
where,
D: Bored diameter
A: Piston diameter as measured
B: Piston - to - bore clearance (standard value)
C: Honing allowance 0.02 mm (0.0008 inch)
2. Install main bearing caps, and tighten to the specified torque. Otherwise, cylinder bores may be distorted in final assembly. Refer to "ASSEMBLY".
3. Cut the cylinder bores.

NOTE:
^ When any cylinder needs boring, all other cylinders must also be bored.
^ Do not cut too much out of the cylinder bore at a time. Cut only 0.05 mm (0.0020 inch) or so in diameter at a time.

4. Hone cylinders to obtain the specified piston-to-bore clearance.
5. Measure finished the cylinder bore for out-of-round and taper.

NOTE: Measurement should be done after the cylinder bore cools down.

OIL CLEARANCE OF CONNECTING ROD BEARING
Method of Measurement





^ Install connecting rod bearings to connecting rod and cap, and tighten the connecting rod nut to the specified torque. Refer to "ASSEMBLY". Using a inside micrometer measure the inner diameter of connecting rod bearing.
(Oil clearance) = (Inner diameter of connecting rod bearing) - (Outer diameter of crankshaft pin)
Standard: 0.020 - 0.045 mm (0.0008 - 0.0018 inch)
Limit: 0.055 mm (0.0022 inch)
^ If clearance exceeds the limit, select proper connecting rod bearing according to connecting rod big end diameter and crankshaft pin journal diameter to obtain specified bearing oil clearance. Refer to "HOW TO SELECT CONNECTING ROD BEARING".

Method of Using Plastigage





^ Remove oil and dust on the crankshaft pin and the surfaces of each bearing completely
^ Cut a plastigage slightly shorter than the bearing width, and place it in crankshaft axial direction, avoiding oil holes.
^ Install connecting rod bearings to connecting rod and connecting rod bearing cap, and tighten the connecting rod nut to the specified torque. Refer to "ASSEMBLY".

CAUTION: Never rotate crankshaft.

^ Remove connecting rod cap and bearings, and using the scale on the plastigage bag, measure the plastigage width.

NOTE: The procedure when the measured value exceeds the repair limit is same as that described in "Method of Measurement".

OIL CLEARANCE OF MAIN BEARING
Method of Measurement





^ Install main bearings to cylinder block and main bearing cap. Measure the main bearing inner diameter with the bearing cap bolt tightened to the specified torque. Refer to "ASSEMBLY".
(Oil clearance) = (Inner diameter of main bearing) - (Outer diameter of crankshaft journal)
Standard:
No. 1 and 5 journals: 0.001 - 0.011 mm (0.00004 - 0.0004 inch)
No. 2, 3, and 4 journals: 0.007 - 0.017 mm (0.0003 - 0.0007 inch)
Limit:
No.1 and 5 journals: 0.021 mm (0.0008 inch)
No. 2, 3, and 4 journals: 0.027 mm (0.0011 inch)
^ If clearance exceeds the limit, select proper main bearing according to main bearing inner diameter and crankshaft main journal diameter to obtain specified bearing oil clearance. Refer to "HOW TO SELECT MAIN BEARING".

Method of Using Plastigage





^ Remove oil and dust on the crankshaft journal and the surfaces of each bearing completely.
^ Cut a plastigage slightly shorter than the bearing width, and place it in crankshaft axial direction, avoiding oil holes
^ Install main bearings to cylinder block and main bearing cap, and tighten the main bearing bolts to the specified torque. Refer to "ASSEMBLY".

CAUTION: Never rotate the crankshaft.

^ Remove bearing cap and bearings, and using the scale on the plastigage bag, measure the plastigage width.

NOTE: The procedure when the measured value exceeds the repair limit is same as that described in "Method of Measurement".

CRUSH HEIGHT OF MAIN BEARING





^ When the bearing cap is removed after being tightened to the specified torque with main bearings installed, the tip end of bearing must protrude. Refer to "ASSEMBLY" for the tightening procedure.
Standard: There must be crush height
^ If out of the standard, replace main bearings.

CRUSH HEIGHT OF CONNECTING ROD BEARING





^ When the connecting rod bearing cap is removed after being tightened to the specified torque with connecting rod bearings installed, the tip end of bearing must protrude. Refer to "ASSEMBLY" for the tightening procedure.
Standard: There must be crush height.
^ If out of the standard, replace connecting rod bearings.





CYLINDER HEAD





CYLINDER BLOCK