Curiosii for ever!: Car repair manuals for everyone.

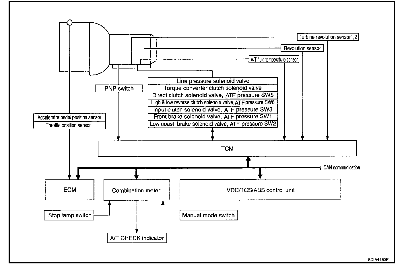
TCM Function

TCM Function
The function of the TCM is to:
^ Receive input signals sent from various switches and sensors.
^ Determine required line pressure, shifting point, lock-up operation, and engine brake operation.
^ Send required output signals to the respective solenoids.

CONTROL SYSTEM OUTLINE





The automatic transmission senses vehicle operating conditions through various sensors or signals. It always controls the optimum shift position and reduces shifting and lock-up shocks.





CONTROL SYSTEM DIAGRAM