Curiosii for ever!: Car repair manuals for everyone.

Service Limits & General Specifications

Part 1:




Part 2:





CRANKSHAFT

CRANKSHAFT END PLAY





^ Using a dial gauge, measure the clearance between the thrust bearings and the crankshaft arm when the crankshaft is moved fully forward or backward.
Standard: 0.10 - 0.25 mm (0.0039 - 0.0098 inch)
Limit: 0.30 mm (0.0118 inch)
^ If the measured value exceeds the repair limit, replace the thrust bearings, and measure again. If it still exceeds the repair limit, replace the crankshaft also.

CONNECTING ROD SIDE CLEARANCE





^ Measure side clearance between connecting rod and crankshaft arm with feeler gauge.
Standard: 0.20 - 0.35 mm (0.0079 - 0.0138 inch)
Limit: 0.40 mm (0.0157 inch)
^ If the measured value exceeds the repair limit, replace the connecting rod bearings, and measure again. If it still exceeds the repair limit, replace the crankshaft also.

PISTON AND PISTON PIN CLEARANCE
Inner Diameter of Piston Pin





Measure the inner diameter of piston pin bore with an inside micrometer.
Standard: 21.993 - 22.005 mm (0.8659 - 0.8663 inch)

Outer Diameter of Piston Pin





Measure outer diameter of piston pin with a micrometer.
Standard: 21.989 - 22.001 mm (0.8657 - 0.8662 inch)

Piston and Piston Pin Clearance





(Piston pin clearance) = (Piston pin bore diameter) - (Outer diameter of piston pin)
Standard: 0.002 - 0.006 mm (0.0001 - 0.0002 inch)
^ If clearance is exceeds specification, replace either or both of piston/piston pin assembly and connecting rod assembly with reference to specification of each parts.
^ Refer to piston selection table to replace piston/piston pin assembly. Refer to "HOW TO SELECT PISTON".
^ Refer to connecting rod bearing selection table to replace connecting rod. Refer to "HOW TO SELECT CONNECTING ROD BEARING".





NOTE:
^ The connecting rod small end grade and piston pin hole (piston pin) grade are provided only for the parts installed at the plant. For service parts, no grades can be selected. (Only 0 grade is available.)
^ Refer to "Connecting Rod Bushing Oil Clearance (Small End)" for the values for each grade at the plant.

PISTON RING SIDE CLEARANCE





^ Measure side clearance of piston ring and piston ring groove with feeler gauge.
Standard:
Top ring: 0.045 - 0.080 mm (0.0018 - 0.0031 inch)
2nd ring: 0.030 - 0.070 mm (0.0012 - 0.0028 inch)
Oil ring: 0.065 - 0.135 mm (0.0026 - 0.0053 inch)
Limit:
Top ring: 0.11 mm (0.0043 inch)
2nd ring: 0.10 mm (0.0039 inch)
^ If out of specification, replace piston and/or piston ring assembly.

PISTON RING END GAP





^ Check if inner diameter of cylinder bore is within specification. Refer to "Piston to Cylinder Bore Clearance".
^ Insert piston ring until middle of cylinder with piston, and measure gap.
Standard:
Top ring: 0.22 - 0.32 mm (0.0087 - 0.0126 inch)
2nd ring: 0.22 - 0.32 mm (0.0087 - 0.0126 inch)
Oil ring: 0.20 - 0.60 mm (0.0079 - 0.0236 inch)
Limit:
Top ring: 0.56 mm (0.0220 inch)
2nd ring: 0.52 mm (0.0205 inch)
Oil ring: 0.96 mm (0.0378 inch)
^ If out of specification, replace piston ring. If gap still exceeds the limit even with a new ring, re-bore cylinder and use oversized piston and piston ring.

CONNECTING ROD BEND AND TORSION





^ Check with connecting rod aligner.
Bend: Limit 0.15 mm (0.0059 inch) per 100 mm (3.94 inch) length
Torsion: Limit 0.30 mm (0.0118 inch) per 100 mm (3.94 inch) length





^ If it exceeds the limit, replace connecting rod assembly.

CONNECTING ROD BEARING (BIG END)





Install the connecting rod cap without the connecting rod bearing installed. After tightening the connecting rod nut to the specified torque, measure the connecting rod large end inner diameter using an inside micrometer.
Standard: 55.000 - 55.013 mm (2.1654 - 2.1659 inch)

CONNECTING ROD BUSHING OIL CLEARANCE (SMALL END)
Inner Diameter of Connecting Rod (Small End)





Measure inner diameter of bushing.
Standard: 22.000 - 22.012 mm (0.8661 - 0.8666 inch)

Outer Diameter of Piston Pin





Measure outer diameter of piston pin.
Standard: 21.989 - 22.001 mm (0.8657 - 0.8662 inch)

Connecting Rod Bushing Oil Clearance (Small End)





(Connecting rod small end oil clearance) = (Inner diameter of connecting rod small end) - (Outer diameter of piston pin)
Standard: 0.005 - 0.017 mm (0.0002 - 0.007 inch)
^ If the measured value exceeds the standard, replace the connecting rod assembly and/or piston and piston pin assembly.
^ If replacing the piston and piston pin assembly, refer to the Table for Selective Fitting for Piston to select the piston corresponding to the applicable bore grade of the cylinder block to be used. Refer to "HOW TO SELECT PISTON".

Factory installed parts grading:







Service parts apply only to grade 0.

CYLINDER BLOCK DISTORTION





^ Using a scraper, remove gasket on the cylinder block surface, and also remove oil, scale, carbon, or other contamination.

CAUTION: Be careful not to allow gasket flakes to enter the oil or coolant passages.

^ Measure the distortion on the block upper face at some different points in 6 directions.
Limit: 0.1 mm (0.004 inch)
^ If out of the distortion limit, replace the cylinder block.

INNER DIAMETER OF MAIN BEARING HOUSING





^ Install the main bearing caps with the main bearings removed, and tighten the mounting bolts to the specified torque.
^ Using a bore gauge, measure the inner diameter of the main bearing housing.
Standard: 68.944 - 68.968 mm (2.7143 - 2.7153 inch)
^ If out of the standard, replace the cylinder block and main bearing caps as an assembly

NOTE: These components cannot be replaced as a single unit, because they were processed together.

PISTON TO CYLINDER BORE CLEARANCE
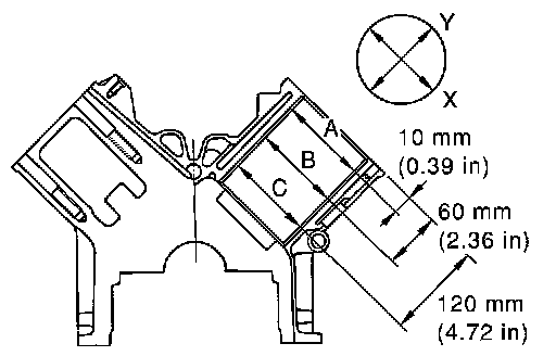
Inner Diameter of Cylinder Bore





^ Using a bore gauge, measure cylinder bore for wear, out-of round and taper at 6 different points on each cylinder. (X and Y directions at A, B and C)

NOTE: When determining cylinder bore grade, measure cylinder bore at B position.





Standard inner diameter: 93.000 - 93.030 mm (3.6614 - 3.6626 inch)
Wear limit: 0.20 mm (0.0079 inch)
Out-of-round (Difference between X and Y): Less than 0.015 mm (0.0006 inch)
Taper limit (Difference between A and C): Less than 0.010 mm (0.0004 inch)
^ If the measured value exceeds the repair limit, or if there are scratches and/or seizure on the cylinder inner wall, hone or bore the inner wall.
^ An oversize piston is provided. When using an oversize piston, hone the cylinder so that the clearance between the piston and cylinder satisfies the standard.
Oversize (OS): 0.2 mm (0.008 inch)
^ If oversize piston is used, use it for all cylinders with oversize piston rings.

Outer Diameter of Piston





^ Measure piston skirt diameter.
Standard: 92.980 - 93.010 mm (3.6606 - 3.6618 inch)





^ Measure point "H"(Distance from the top): 42 mm (1.65 inch)

Piston to Cylinder Bore Clearance
^ Calculate by outer diameter of piston skirt and inner diameter of cylinder (direction X, position B).
(Clearance) = (Inner diameter of cylinder) - (Outer diameter of piston skirt)
Standard: 0.010 - 0.030 mm (0.0004 - 0.0012 inch)
Limit: 0.08 mm (0.0031 inch)
If it exceeds the limit, replace piston/piston pin assembly.

Reboring Cylinder Bore
1. Cylinder bore size is determined by adding piston-to-bore clearance to piston diameter "A".
Rebored size calculation: D = A + B - C
where,
D: Bored diameter
A: Piston diameter as measured
B: Piston -to - bore clearance (standard value)
C: Honing allowance 0.02 mm (0.0008 inch)
2. Install main bearing caps, and tighten to the specified torque. Otherwise, cylinder bores may be distorted in final assembly.
3. Cut cylinder bores.
^ When any cylinder needs boring, all other cylinders must also be bored.
^ Do not cut too much out of cylinder bore at a time. Cut only 0.05 mm (0.0020 inch) or so in diameter at a time.
4. Hone cylinders to obtain specified piston-to-bore clearance.
5. Measure finished cylinder bore for out-of-round and taper.
^ Measurement should be done after cylinder bore cools down.

OIL CLEARANCE OF CONNECTING ROD BEARING
Method of Measurement





^ Install the connecting rod bearings to the connecting rod and the cap, and tighten the connecting rod nut to the specified torque. Using a inside micrometer measure the inner diameter of connecting rod bearing.
(Oil clearance) = (Inner diameter of connecting rod bearing) - (Outer diameter of crankshaft pin)
Standard: 0.020 - 0.045 mm (0.0008 - 0.0018 inch)
Limit: 0.055 mm (0.0022 inch)
^ If clearance cannot be adjusted within the standard, grind crankshaft pin and use undersized bearing. Refer to "HOW TO SELECT CONNECTING ROD BEARING".

Method of Using Plastigage





^ Remove oil and dust on the crankshaft pin and the surfaces of each bearing completely.
^ Cut a plastigage slightly shorter than the bearing width, and place it in crankshaft axial direction, avoiding oil holes.
^ Install the connecting rod bearings to the connecting rod cap, and tighten the connecting rod nut to the specified torque.

CAUTION: Never rotate the crankshaft.

^ Remove the connecting rod cap and bearings, and using the scale on the plastigage bag, measure the plastigage width.

NOTE: The procedure when the measured value exceeds the repair limit is same as that described in "Method of Measurement".

OIL CLEARANCE OF MAIN BEARING
Method of Measurement
^ Install the main bearings to the cylinder block and bearing cap. Measure the main bearing inner diameter with the bearing cap bolt tightened to the specified torque.
(Oil clearance) = (Inner diameter of main bearing) - (Outer diameter of crankshaft journal)
Standard:
No. 1 and 5 journals: 0.001 - 0.011 mm (0.0004 - 0.0004 inch)
No. 2, 3, and 4 journals: 0.007 - 0.017 mm (0.0003 - 0.0007 inch)
Limit:
No.1 and 5 journals: 0.021 mm (0.0008 inch)
No. 2, 3, and 4 journals: 0.027 mm (0.0011 inch)

^ If the measured value exceeds the repair limit, select main bearings referring to the main bearing inner diameter and crankshaft journal outer diameter, so that the oil clearance satisfies the standard. Refer to "HOW TO SELECT MAIN BEARING".

Method of Using Plastigage





^ Remove oil and dust on the crankshaft journal and the surfaces of each bearing completely
^ Cut a plastigage slightly shorter than the bearing width, and place it in crankshaft axial direction, avoiding oil holes
^ Tighten the main bearing bolts to the specified torque.

CAUTION: Never rotate the crankshaft.

^ Remove the bearing cap and bearings, and using the scale on the plastigage bag, measure the plastigage width.

NOTE: The procedure when the measured value exceeds the repair limit is same as that described in "Method of Measurement".

CRUSH HEIGHT OF MAIN BEARING





^ When the bearing cap is removed after being tightened to the specified torque with main bearings installed, the tip end of bearing must protrude.
Standard: There must be crush height
^ If the standard is not met, replace main bearings.

Part 1:




Part 2:





CYLINDER BLOCK





Main Bearing Housing Grade

Part 1:




Part 2:





MAIN BEARING