Curiosii for ever!: Car repair manuals for everyone.

Cylinder Block






CYLINDER BLOCK DISTORTION AND WEAR

Block surface flatness:
Standard ..............Less than 0.03 mm (0.0012 inch)
Limit .................0.10 mm (0.0039 inch)






Amount of cylinder head resurfacing is "A".
Amount of cylinder block resurfacing is "B".

The maximum limit is as follows:
A + B = 0.2 mm (0.008 inch)

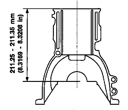
Nominal cylinder block height from crankshaft center:
211.25 - 211.35 mm (8.3169 - 8.3208 inch)