Curiosii for ever!
: Car repair manuals for everyone.
Home
>>
Infiniti
>>
1992
>>
M30 V6-181 3.0L
>>
Repair and Diagnosis
>>
Cruise Control
>>
Testing and Inspection
>>
Symptom Related Diagnostic Procedures
>>
Procedure 1, A.S.C.D. Cannot Be Set
Procedure 1, A.S.C.D. Cannot Be Set
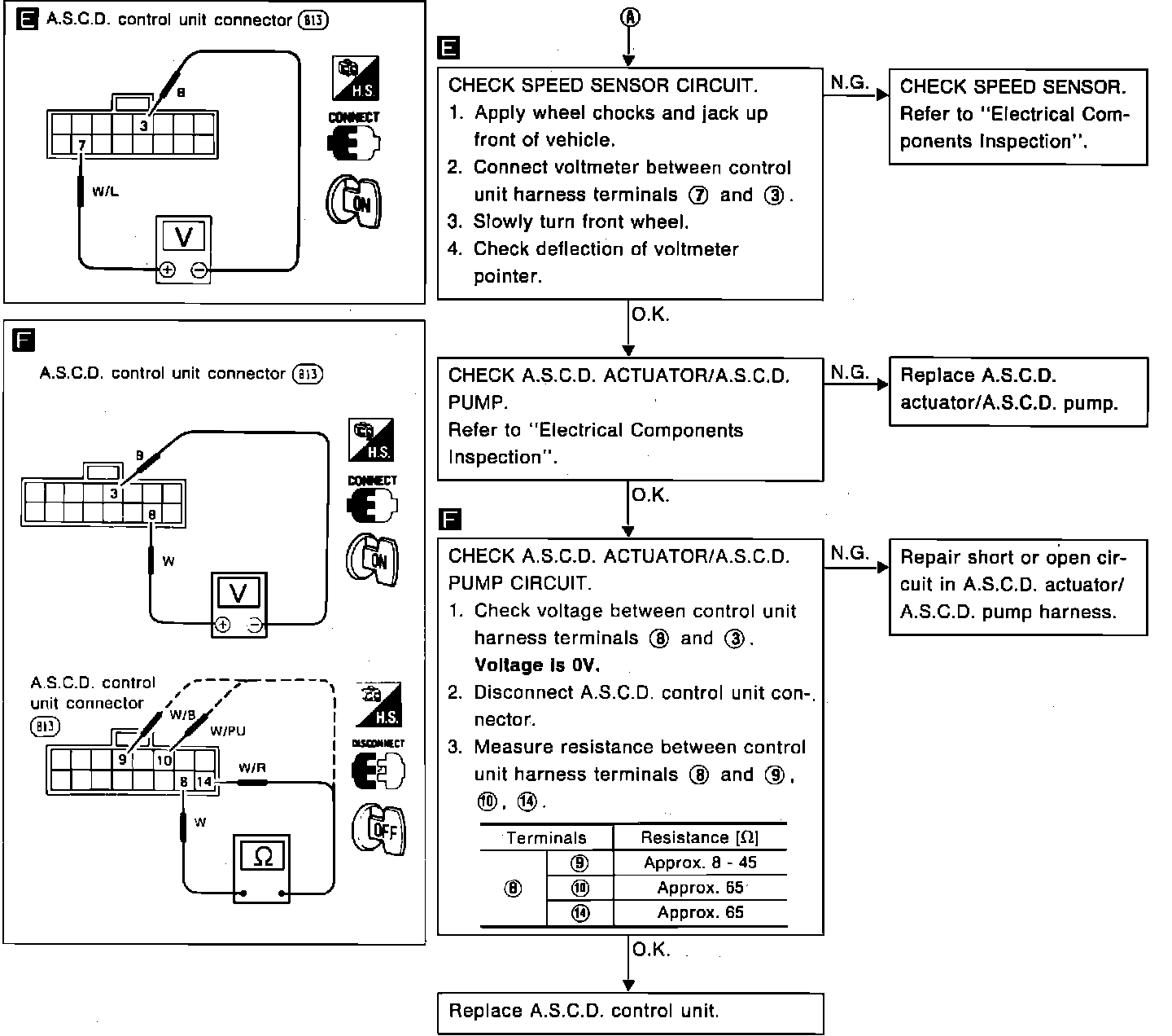
Fig. 29 Diagnostic Procedure 1, A.S.C.D. Cannot Be Set (Part 1 Of 2).:
Fig. 29 Diagnostic Procedure 1, A.S.C.D. Cannot Be Set (Part 2 Of 2).: